Replacing Impeller Drive Belt

1. Remove shield (A).


A-Shield

E53652

OUO6085,0000283 -19-30NOV04-1/7


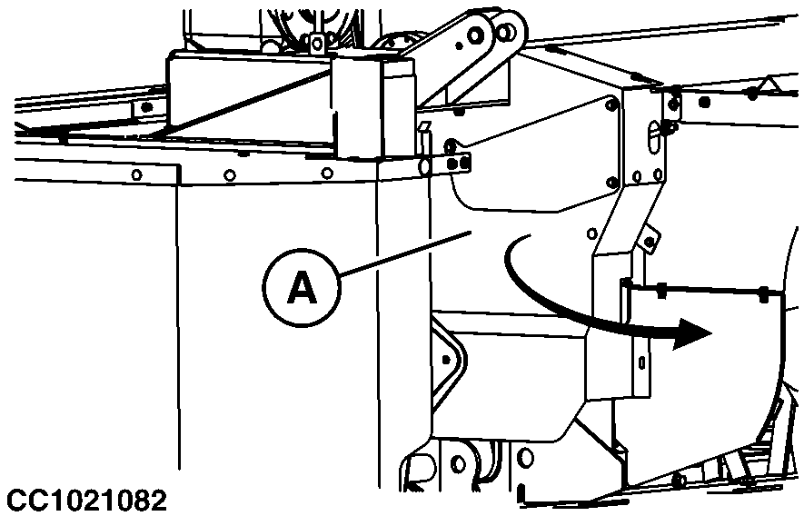
2. Remove left-hand side shield (A).


A-Shield

CC1021082

OUO6085,0000283 -19-30NOV04-2/7


3. Relieve spring tension on idler (A).


A-Idler

CC1021083

OUO6085,0000283 -19-30NOV04-3/7


4. Remove drive belt (A) from sheaves.

5. Pull out belt (A).

6. Install new belt (A).


A-Drive Belt

CC1021084

OUO6085,0000283 -19-30NOV04-4/7


7. Adjust Impeller Drive Belt Tension. See "Adjusting Impeller Drive Belt Tension" in this section for adjustment.


A-Spring-Loaded Idler

CC1021083

OUO6085,0000283 -19-30NOV04-5/7


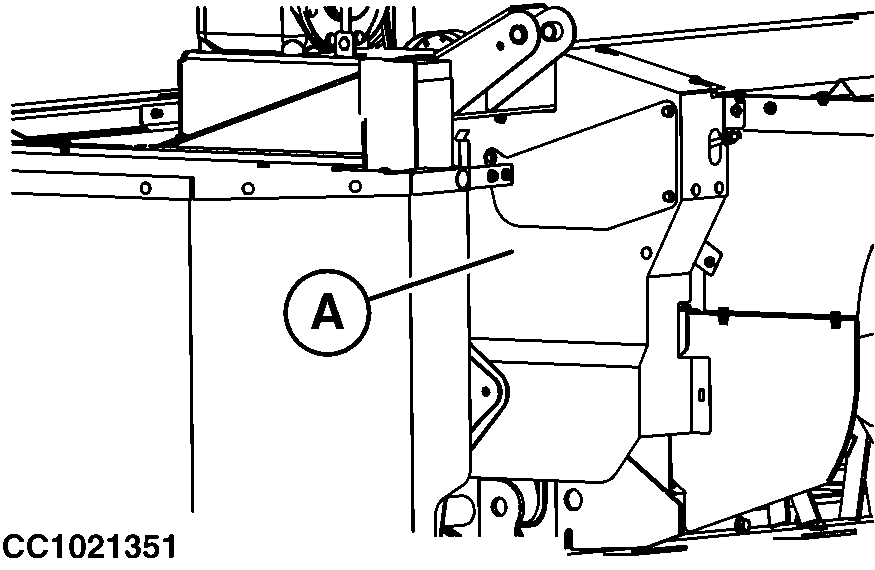
8. Install left-hand side shield (A).


A-Shield

CC1021351

OUO6085,0000283 -19-30NOV04-6/7


9. Install Shield (A).


A-Shield

E53652

OUO6085,0000283 -19-30NOV04-7/7