Changing Impeller Rotor Speed

Conditioning intensity can be adjusted by changing the impeller rotor speed. Two rotor speeds are available, depending on position of drive sheaves (E and F):

  • 870 rpm with small sheave on impeller rotor and large sheave on main gear case (factory setting).
  • 630 rpm with large sheave on impeller rotor and small sheave on main gear case.

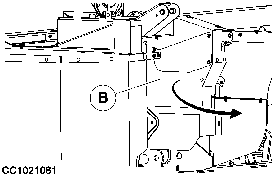
1. Remove guard (A) and guard (B).

2. Release tension on tightening spring (C).

3. Remove impeller rotor drive belt (D).

4. Remove impeller rotor sheave (E).

5. Remove gear case sheave (F).

6. Install sheave (E) removed from impeller rotor on platform drive gear case. Install washer and cap screw. Tighten cap screw to specified torque.

7. Install sheave (F) removed from platform drive gear case on impeller rotor. Install washer and cap screw. Tighten cap screw to specified torque.

Specification

Cap Screw -Torque 340 N·m (250 lb-ft)


A-Guard
B-Guard
C-Tension Spring
D-Drive Belt
E-Impeller Rotor Sheave
F-Gear Case Sheave

CC1020992
CC1021081
CC1020993
E53644

OUO6085,00002A2 -19-01DEC04-1/2


8. Install conditioner drive belt (D).

9. Set belt tension spring (C) to 233 mm (9.2 in.) (G) between hooks

10. Install guards (A and B).


A-Guard
B-Guard
C-Tension Spring
D-Drive Belt
E-Impeller Rotor Sheave
G-Spring Length

CC1020993
CC1022281
E53694
CC1021352

OUO6085,00002A2 -19-01DEC04-2/2