Do not stand between tractor and implement.
NOTE: John Deere 7000 Series tractor shown throughout procedure.
-

RW21226-UN-12JUN92

RW55673-UN-13APR95
Lock Pins (Version A)

RW55674-UN-13APR95
Slide Lock Pins (Version B)
A - Load/Depth Control
B - Lock Pins
Turn tractor load/depth control fully counterclockwise (A).
-
Version A—Lift lock pins (B) and extend telescoping draft
link ends.
Version B—Slide lock pins (B) and extend telescoping draft
link ends.
-
CAUTION: To prevent possible injury, use ONLY hitch control
lever (A) when attaching implements. DO NOT use raise/lower switch
(B).

E41376-UN-03FEB97
A - Hitch Control Lever
B - Raise lower Switch
Back up tractor to mower-conditioner with hitch points approximately
in alignment.
-
Engage tractor parking brake and/or place transmission in "Park".
-
Shut off tractor engine and remove key.
-

E41354-UN-03FEB97
Draft Link Hitch—Category 2

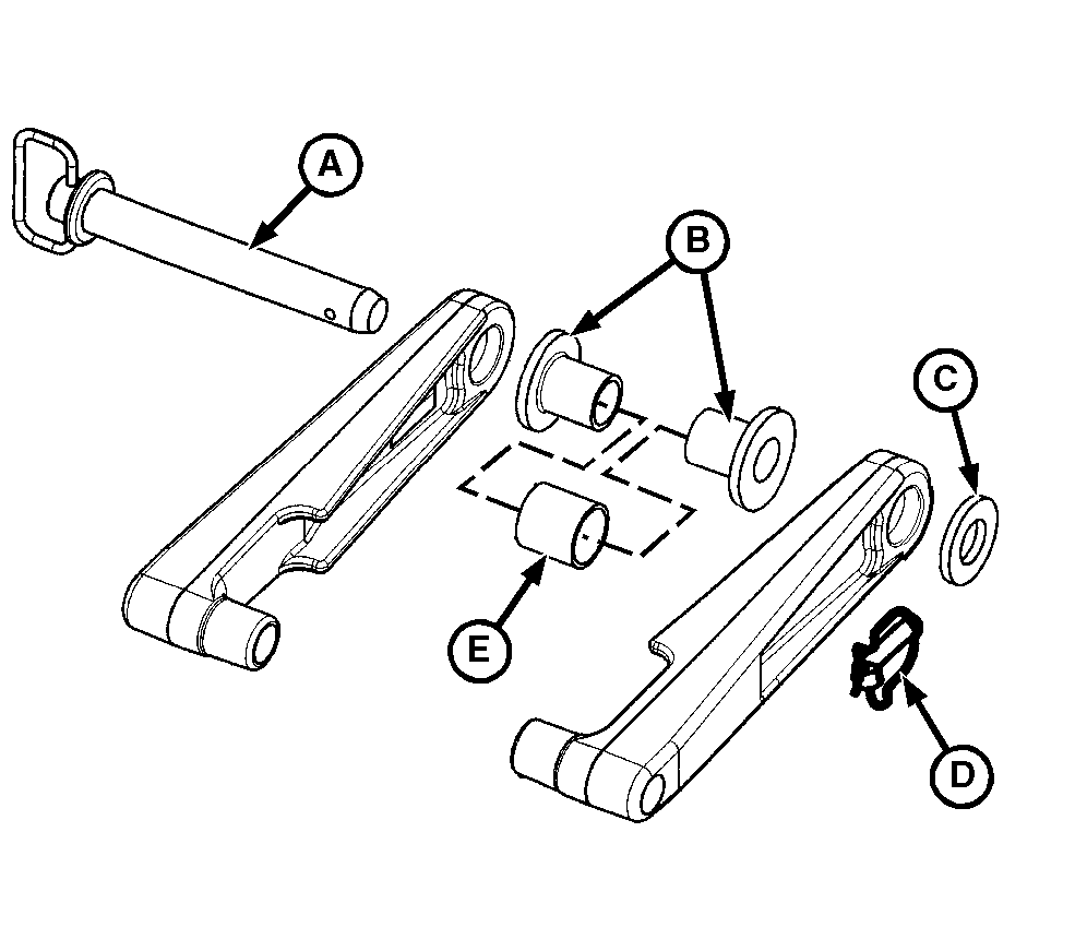
E41355-UN-03FEB97
Draft Link Hitch—Category 3N

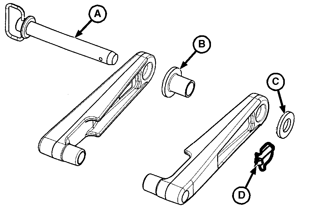
E41375-UN-03FEB97
A - Hitch Pin
B - Machined Spacers
C - Washer
D - Quick-Lock Pin
E - Pipe Spacer
F - Hitch Arms
Remove parts (A—E) at both hitch arms (F).
-
Align draft links with hitch arms and install parts (A—E).
Draft Link Hitch—Category 3N; Position pipe spacer (E) and hitch arms so that a minimum amount
of side-to-side motion is allowed.
-
Attach PTO driveline. (See procedure in this section.)
-
Carefully back up tractor making sure both left and right telescoping
draft link ends lock.
-

E41377-UN-03FEB97
A - Control Lever
B - Depth Stop Knob
Slowly pull hitch control lever (A) to raise mower-conditioner
hitch. Check for interference. Lower hitch to ground and adjust if
necessary.
-
Raise hitch until main PTO driveline is in horizontal position.
-
Adjust depth stop knob (B) to maintain a level driveline.
-
Adjust lift links and lateral float. (See procedures in your
tractor operator's manual.)