Install Left-Hand Lower Drive Roll Bearing

causym CAUTION: To prevent bearing failure, always loosen the three RIGHT-HAND SIDE flange mounting bolts (A) before tightening left-hand side (drive side) center M12 cap screw (B).

1. Right-hand Side: Loosen three flange mounting cap screws (A) and cap screw (C). Finger tighten cap screws (A) to allow side-to-side movement of cast housing and position roll to check roll wiper-to-sidesheet clearance.

2. Left-hand Side: Remove crop buildup around shaft and roll area.

3. Wire brush roll shaft.


A-Flanged Mounting Bolts (3 used)
B-Cap Screw, M12 x 80
C-Cap Screw, M12 x 80

E57626

Right-hand Lower Drive Roll Bearing

E56433

Left-hand Lower Drive Roll

PP98408,0000160 -19-23SEP09-1/10


IMPORTANT: Locate housing with "UP" stamp (A) toward top of baler.

Clean washers and replace if necessary.


A-Stamp (UP)

E54919

PP98408,0000160 -19-23SEP09-2/10


IMPORTANT: All 1.5 and 3.0 mm (0.06 and 0.12 in.) thick washers must machined and hardened on left-hand lower drive roll position to avoid center bolt (D) loosening or hex knock.

4. Install chamfered spacer (A) (chamfer toward roll), hardened washers (B), and bearing (with "UP" stamp toward top of baler) on shaft, snug four flange nuts (C), and pull roll firmly to left-hand side of baler.

5. Center roll side-to-side:

  • Center roll side-to-side.
  • Measure from outer rubber strip to sidesheet on both sides to check roll centering.
  • The difference between the two dimensions must be 6 mm (0.24 in.) or less.
  • If needed, add or remove washers between roll and left-hand bearing to center roll.

6. Tighten flange nuts (C) to specifications.

Specification

Flange Nut and Bolt -Torque 95 N·m (70 lb.-ft.)

E57573


A-Chamfered Spacer
B-Hardened Washers
C-Flange Nuts (4 used)
D-Center Bolt

PP98408,0000160 -19-23SEP09-3/10


NOTE: Permissible to grind drive roll wiper pins (C) to 3 mm (0.12 in.) height.

7. Wiper pins (C) on lower drive roll (A) and starter roll bars (B) must clear sidesheet holes according to specifications.

If roll wiper pin (C) contacts sidesheet hole, reposition bearing housing or bearing plate or grind wiper pin (C).

Specification

Roll-to-Sidesheet -Clearance 1 mm (0.04 in.)


A-Lower Drive Roll
B-Starter Roll
C-Wiper Pin

E54891

PP98408,0000160 -19-23SEP09-4/10


NOTE: Install sprocket with larger hub pointing toward roll.

8. Install sprocket and hardened washers (D).

9. Tap right-hand side of roll to remove all endplay to left-hand side of baler.

10. Hold lower roll shaft to left-hand side and push lower drive roll sprocket and washers inward.

IMPORTANT: To avoid hex knock and cap screw (C) from loosening, keep hardened washers (A) centered about shaft. Make sure hardened washers (A) are not clamped between end of shaft and thick washer (B).

11. Install hardened washers (D) between sprocket and end of shaft so washers extend 3-6 mm (0.12-0.24 in.) past end of shaft.

12. Install M12 x 80 cap screw (C) with 13 x 70 x 12 mm (0.50 x 2.75 x 0.47 in.) thick washer (B). Tighten cap screw (C) to specification.

Specification

Cap Screw -Torque 140 N·m (103 lb.-ft.)

13. Ensure that washers do not rotate by hand. Joint must be clamped to eliminate hex knock.

E57574


A-Hardened Washers
B- Thick Washer, 13 x 70 x 12 mm (0.50 x 2.75 x 0.47 in.)
C-Cap Screw, M12 x 80
D-Hardened Washers

PP98408,0000160 -19-23SEP09-5/10


14. Check alignment with a straight edge (C) between lower drive sprocket (A) and gear case output shaft outer sprocket (B). Add or remove machined and hardened washers between bearing and sprocket on lower drive roll shaft, as needed.

15. Add or remove regular washers between bearing and sprocket on starter roll shaft, as needed, to align starter roll sprocket with lower drive roll sprocket.


A-Drive Sprocket
B-Outer Sprocket
C-Straight Edge

E56412

PP98408,0000160 -19-23SEP09-6/10


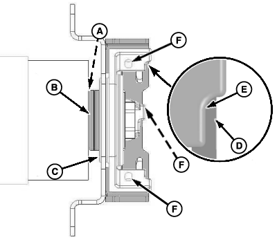
16. Right-hand Side: Make sure there are enough washers (B) between end of roll tube and bearing to locate bearing cast housing correctly. Remove three M8 cap screws (F) to be installed later.

17. Hold bearing (C) tight against washers. Edge of mounting strap (D) must align with the step of cast housing (E) in three locations.


A-Spacer
B-Thin Washer
C-Bearing
D-Mounting Strap
E-Cast Housing
F-Cap Screw, M8 (3 used)

E56405

PP98408,0000160 -19-23SEP09-7/10


18. Add or subtract washers behind bearing, if necessary, to locate cast step (A) correctly with mounting edge (B) in all three locations. Set mounting edge to specification.

Specification

Cast Step -Distance 1.5-4.5 mm (0.059-0.177 in.)


A-Cast Step
B-Mounting Strap Edge
C-Dimension, 1.5-4.5 mm (0.059-0.177 in.)

E54509

PP98408,0000160 -19-23SEP09-8/10


19. Install three flange mounting cap screws (A) and nuts (B). Only tighten cap screws enough to get a light between cast flange and mounting strap. Some rotation (a light tap) of the cast flange around the outer race may be required to align flange correctly at all three locations. Do not tighten cap screws at this time.

NOTE: Rolls must rotate freely. Check roll clearance through hole in sidesheet.

If roll is equipped with wiper pins, it is permissible to grind drive roll wiper pins to 3 mm (0.12 in.) minimum height.

20. Spin upper drive roll to verify clearance with sidesheet hole according to specifications. Add or remove shims (F) or move right-hand bearing plate, or grind drive roll wiper pins, if equipped.

Specification

Rollers-to-Sidesheet -Clearance 1 mm (0.04 in.)

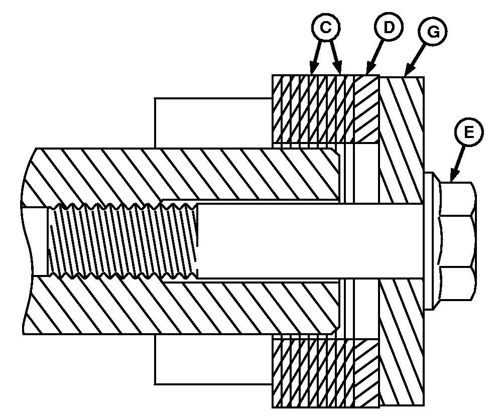
IMPORTANT: To avoid center cap screw from loosening or hex knock, keep washers (C) centered on shaft.

21. Install washers (C) between bearing and end of hex shaft, so washers are flush with end of shaft, and add one more washer. Add large thick ID washer (D).

22. Install M12 x 80 cap screw (E) and 13 x 70 x 12 mm (0.50 x 2.75 x 0.47 in.) end washer (G).


A-Flanged Cap Screws (3 used)
B-Flanged Nut (3 used)
C-Washers
D-Large (Thick Washer)
E-Cap Screw, M12 x 80
F-Shims
G-Washer, 13 x 70 x 12 mm (0.50 x 2.75 x 0.47 in.)

E57567
E57565
E57568

PP98408,0000160 -19-23SEP09-9/10


IMPORTANT: To prevent bearing failure, always tighten M12 cap screw (C) before tightening flange mounting M8 cap screws (A) and (B).

NOTE: Ensure washers do not rotate by hand. Joint must be clamped to eliminate hex knock.

23. Tighten M12 x 80 cap screw (C) to specification.

Specification

M12 Cap Screw -Torque 140 N·m (103 lb.-ft.)

24. Tighten middle flange mounting cap screw (B) first. Tighten remaining two flange mounting cap screws (A). Tighten all three cap screws to specification.

Specification

Cap Screw -Torque 40 N·m (30 lb.-ft.)

25. Check position of mounting edge to cast step in three locations. If mounting edge does not align in the cast sets, repeat Steps 16-24.

E57566


A-Cap Screw, M8 (2 used)
B-Cap Screw, M8
C-Cap Screw, M12 x 80

PP98408,0000160 -19-23SEP09-10/10