Replace Teeth (Pickup Installed)

MegaWide Plus, MegaTooth, and Regular Pickups

causym CAUTION: Never use any type of tool or wrench on shaft(s) while tractor engine is operating. Always remove tool(s) from shaft as soon as procedure is finished.

NOTE: To service pickup from the rear, open gate fully and lock gate.

1. Rotate pickup reel by turning gear case hex shaft using an open end wrench as shown.

E48221

PP98408,0000176 -19-23SEP09-1/6


2. Loosen two self-tapping cap screws (B) and two nuts (C) (each stripper).

3. Remove stripper(s) (A) that are directly over the damaged teeth.


A-Stripper
B-Self-Tapping Cap Screw (2 used)
C-Nut (2 used)

E48047

Right-Hand End, 4 Foot MegaWide Plus Shown

PP98408,0000176 -19-23SEP09-2/6


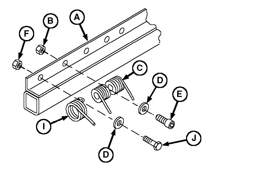
MegaWide Plus and MegaTooth Pickups Only

NOTE: Outside teeth (I) are larger than center teeth. Outside teeth are single tine pieces and center teeth are double tine pieces. Both types of teeth are mounted to tooth bar differently. There are large outside teeth on each tooth bar on both left and right-hand ends of pickup.

Right-hand end shown. Number of large outside teeth on each end of tooth bar:

  • 468 and 468S-MegaWide Plus-Two Teeth

  • 568-Megatooth-Two Teeth

  • 568-MegaWide-One tooth

1. Outside teeth: Remove lock nut(s) (F), cap screw(s) (J), strap (G) (if equipped), spacers (H) (if equipped) and tooth/teeth (I).

Center teeth: Remove lock nut (B), socket-head cap screw (E), washer (D) and tooth/tines (C).


A-Tooth Bar
B-Lock Nut
C-Tooth/Tines
D-Washer
E-Socket Head Cap Screw
F-Lock Nuts
G-Strap (if equipped)
H-Spacer (2 used) (if equipped)
I-Tooth
J-Cap Screw

E48048

468 and 468S MegaWide Plus, 568 MegaTooth

E48728

568 MegaWide Plus

PP98408,0000176 -19-23SEP09-3/6


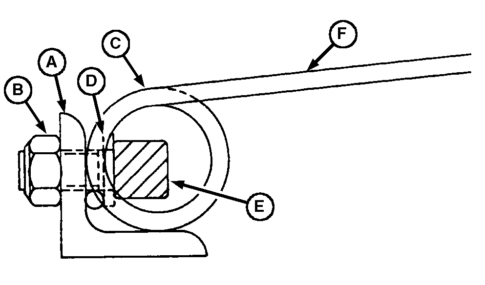
2. Install new teeth in reverse order as removed using the following special instructions:

IMPORTANT: Center teeth:

  • Coil (C) must rest against inside angle of bar (A) with tooth/tine (F) pointing away from bar.

  • Washer (D) must be installed in position shown to properly fasten tooth to bar.

Outside teeth:

  • 468 and 468S MegaWide Plus and 568 MegaTooth: Install strap (G) with long end toward outside of machine, as shown.

NOTE: Recommend always replacing hardware when replacing square wire teeth.

  • Install teeth as shown.
  • Tighten lock nuts to specifications.

Specification

Center Spring Tooth-to-Tooth Bar Lock Nut -Torque 63 N·m (46 lb.-ft.)
Outside Spring Tooth-to-Tooth Bar Lock Nut-Two Single Teeth With Strap -Torque 81 N·m (60 lb.-ft.)
Outside Spring Tooth-to-Tooth Bar Lock Nut-Single Tooth -Torque 63 N·m (46 lb.-ft.)

    NOTE: If mounting threads for stripper self-tapping cap screws become stripped, weld M8 nuts to bottom side of pickup frame strap.

  • Tighten stripper self-tapping cap screws to specifications.
    E48049

    Center Tooth/Tines

    E48050

    Right-Hand End (468 and 468S MegaWide Plus) Shown


    A-Tooth Bar
    B-Lock Nut
    C-Tooth Coil
    D-Washer
    E-Socket Head Cap Screw
    F-Tooth/Tine
    G-Strap

PP98408,0000176 -19-23SEP09-4/6


    Specification

    Stripper-to-Frame Self-Tapping Cap Screws -Torque 33 N·m (24 lb.-ft.)

    PP98408,0000176 -19-23SEP09-5/6


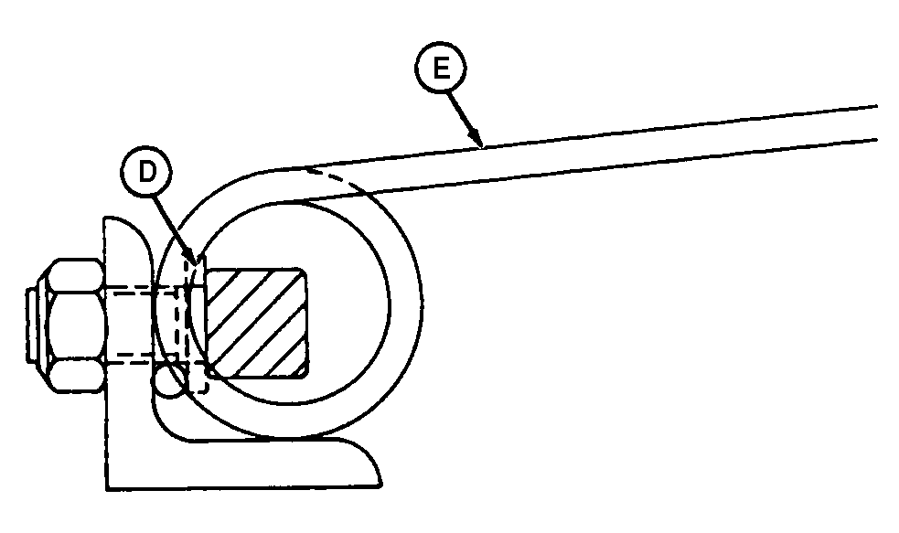
      Regular Pickup Only

          1.

          Loosen two self-tapping cap screws (A) and two round head bolts and nuts (B) to remove stripper directly over broken or bent teeth.

          2.

          Remove lock nut, washer (D), socket-head cap screw (C) and spring tooth/tine (E).

          3.

          Install new teeth (as shown in bottom illustration) in reverse order as removed using the following special instructions:

          IMPORTANT: The tooth coil must rest against the inside angle of bar with tooth/tine (E) pointing away from bar.

          Washer (D) must be installed in position shown to properly fasten tooth to bar.

          • Tighten lock nut to specifications.

          Specification

          Spring Tooth-to-Tooth Bar Lock Nut -Torque 47 N·m (35 lb.-ft.)

            NOTE: If mounting threads for stripper self-tapping cap screws become stripped, weld M8 nuts to bottom side of pickup frame strap.

          • Tighten stripper self-tapping cap screws to specifications.

          Specification

          Stripper-to-Frame Self-Tapping Cap Screws -Torque 33 N·m (24 lb.-ft.)

          NOTE: If mounting threads for stripper self-tapping cap screws become stripped, weld M8 nuts to bottom side of pickup frame strap.

      E40934
      E40364


      A-Self-Tapping Cap Screw (2 used)
      B-Round Head Bolt and Nut (2 used)
      C-Socket-Head Cap Screw
      D-Washer
      E-Spring Tooth/Tine

    PP98408,0000176 -19-23SEP09-6/6