Adjusting Twine Arm-to-Starter Roll, Cutter Link Support, and Twine Arm Stop

causym CAUTION: Twine arms can move unexpectedly. Keep hands out of twine arm path to avoid crushing. turn off power BEFORE servicing or adjusting twine arms or twine cutter mechanism.

Stay out of the path of twine arms at all times when power to twine arms is ON.

NOTE: Adding or removing shims located between the twine arm support and crossbeam will affect dimensions at the following locations:

  • Twine arm to starter roll:

    • Twine arm pointing directly toward rear.

    • Twine arm toward right side of baler.

    • Twine arm toward left side of baler.

  • Twine arm to cutter link support.

  • Twine arm to twine arm stop.

Check dimensions at all locations before making any adjustments. Adding or removing shims at one location may change the dimension at another location.

1. Start tractor engine and raise gate fully. Lower pickup so twine arm will not contact pickup teeth.

2. Shut off tractor engine and remove key. Lock the gate.

3. Remove lower drive roll chain so starter roll can be rotated by hand.

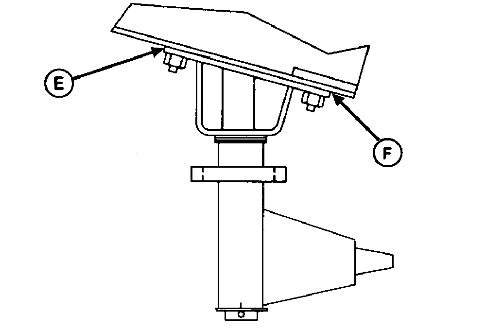
E47598

OUO6085,00005B9 -19-19JUN07-1/5


E40616


A-Twine Arm
B-Dimension


C-Starter Roll Rod


D-Shim Location


E-Shim Location

Adjust Twine Arm to Starter Roll

1. Move twine arms until rear twine arm (A) points toward rear of baler.

    Electric Twine Wrap;

  • Turn tractor key to ON position. do not start tractor engine.
  • Turn monitor-controller ON.
  • Press EXTEND key to move twine arm in position.
  • Turn monitor-controller OFF . Turn tractor key to OFF position. Remove key.

2. By hand, remove end play at end of twine arm toward starter roll. Check dimension (B) between starter roll rod (C) and twine arm tube. Dimension (B) should be within specifications.

Specification

Starter Roll Rod-to-Twine Arm Tube -Distance 6-12 mm (1/4-1/2 in.)

3. If dimension (B) is less than specified:

  • Remove shims, as necessary, at location (D) between twine arm support and crossbeam.
    Remove an equal amount of shims at the right-hand and left-hand mounting bolts. One shim moves twine arm approximately 3 mm (1/8 in.).

    OR

  • Add shims, as necessary, at location (E) between twine arm support and crossbeam. Add an equal amount of shims at the right-hand and left-hand mounting bolts.

4. If dimension (B) is more than specified:

  • Remove shims, as necessary, at location (E) between twine arm support and crossbeam. Remove an equal amount of shims at the right-hand and left-hand mounting bolts. One shim moves twine arm approximately 3 mm (1/8 in.)

    OR

  • Add shims, as necessary, at location (D) between twine arm support and crossbeam.

OUO6085,00005B9 -19-19JUN07-2/5


E41680


A-Strap
B-Starter Roll Rod


C-Dimension


D-Shim Location


E-Shim Location

5. Move twine arms to right of center so strap (A) is below starter roll rod (B).

    Electric Twine Wrap;

  • Turn tractor key to ON position. do not start tractor engine.
  • Turn monitor-controller ON.
  • Press EXTEND key to move twine arm in position.
  • Turn monitor-controller OFF . Turn tractor key to OFF position. Remove key.

6. Rotate starter roll until starter roll rod (B) is closest to twine arm strap (A).

7. By hand, remove twine arm end play at end of twine arm toward starter roll.

8. Check dimension (C) between starter roll rod (B) and strap (A). Dimension (C) should be to specifications.

Specification

Starter Roll Rod-to-Strap -Clearance (Minimum) 3 mm (1/8 in.)

9. If dimension (C) is less than specified, add an equal number of shims at right-hand location (D and E), or remove an equal number of shims at left-hand location (D) and (E).

10. Move twine arm left of center so strap (A) is below starter roll rod (B).

    Electric Twine Wrap;

  • Turn tractor key to ON position. do not start tractor engine.
  • Turn monitor-controller ON.
  • Press EXTEND key to move twine arm in position.
  • Turn monitor-controller OFF . Turn tractor key to OFF position. Remove key.

11. Rotate starter roll until starter roll rod (B) is closest to twine arm strap (A).

12. If dimension (C) is less than specified, add an equal number of shims at the left-hand locations (D and E), or remove an equal number of shims at the right-hand locations (D) and (E).

OUO6085,00005B9 -19-19JUN07-3/5


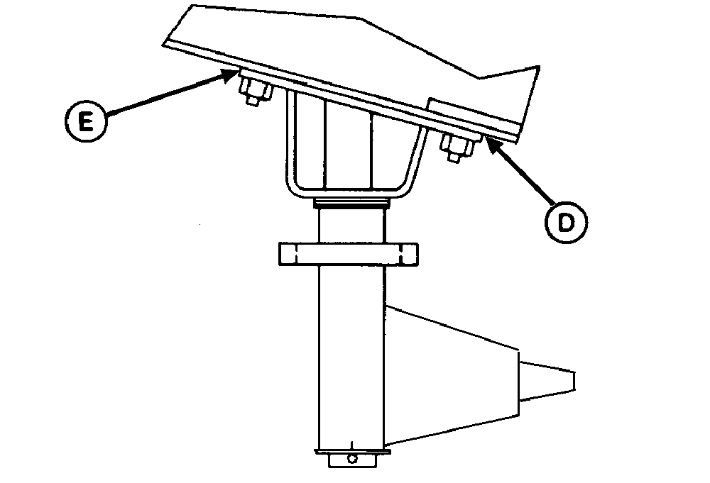
Adjust Twine Arm-to-Cutter Link Support

1. Move twine arms until twine arm (A) lightly contacts the cutter link contact tab.

    Electric Twine Wrap;

  • Turn tractor key to ON position. do not start tractor engine.
  • Turn monitor-controller ON.
  • Press RETRACT key to move twine arm in position.
  • Turn monitor-controller OFF . Turn tractor key to OFF position. Remove key.

2. Check dimension (C) between top of twine arm strap and bottom edge of cutter link support (B). Dimension (C) should be within specifications.

Specification

Top of Twine Arm Strap-to-Bottom Edge of Cutter Link Support -Clearance 6 mm (1/4 in.)

3. If dimension (C) is less than specified and no shims exist at location (D) between support (B) and crossbeam:

  • Add an equal number of shims between twine arm support and crossbeam at left-hand locations (E) and (F).

    OR

  • Remove an equal number of shims between twine arm support and crossbeam at right-hand locations (E) and (F).
E40634
E41682


A-Twine Arm
B-Cutter Link Support
C-Dimension
D-Shim Location
E-Shim Location
F-Shim Location

OUO6085,00005B9 -19-19JUN07-4/5


Adjust Twine Arm-to-Twine Stop

1. Make sure twine arm stop (A) is in the down position.

2. Move twine arms to the home position.

    Electric Twine Wrap;

  • Turn tractor key to ON position. Do not start tractor engine.
  • Turn monitor-controller ON.
  • Press RETRACT key to move twine arm in position.
  • Turn monitor-controller OFF. Turn tractor key to OFF position. Remove key.

3. Check overlap (C). There should be a minimum overlap between bottom of stop (A) and front twine arm surface to within specifications.

Specification

Bottom of Stop-to-Front Arm Surface -Overlap 2 mm (3/32 in.)

4. If dimension (C) is less than specified:

  • Add an equal number of shims at the right-hand locations (D) and (E).

    OR

  • Remove an equal number of shims at the left-hand locations (D) and (E).
Checking Twine Arm Adjustments

1. Check clearances again between twine arm and starter roll, twine arm and cutter link support, and twine arm to twine arm stop. If twine arm to starter roll dimension has changed due to adjusting twine arm to cutter link support or twine arm stop, adjust shims between twine arm and crossbeam as needed.

2. Adjust twine cutter-to-twine arm. (See ADJUSTING TWINE CUTTER-TO-TWINE ARM in this section.)

3. Install lower drive roll chain.

4. Unlock and close gate.

E40623
E40617


A-Twine Arm Stop
B-Twine Arms
C-Minimum Overlap
D-Shim Location
E-Shim Location

OUO6085,00005B9 -19-19JUN07-5/5