Balancing Roller Baffle

IMPORTANT: Do not remove plastic tie bands from pickup baffle roller. If tie bands are removed, crop could wrap around roller between rods and tube.

Replace missing tie bands as soon as possible.

1. Remove two self-tapping screws (A) and plastic cover.

2. Remove all crop an dirt buildup from between roller and rods, and at roller ends.

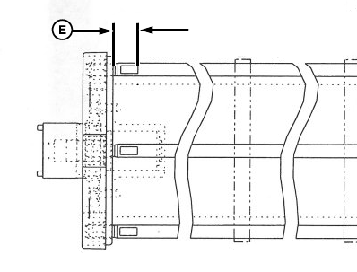
3. Adjust each rod using nut on end of rod. Measure from inside of wrench flat to inside edge of end cap (E), 18-20 mm (0.70-0.78 in.).

4. Spin roller to find the heavy point, or where bow in roller and gravity causes roller to stop turning.

5. At the heavy point (directly below roller axis), place a mark (D) beside closest nut. Tighten nut (B) 1/4 turn, then spin roller to check balance.

6. If roller is still heavy on the same point, loosen nut (C) 1/4 turn and spin roller to check balance.

7. Repeat Steps 3-5 until roller spins evenly.

8. Install plastic cover. Fasten with two self-tapping screws (A).


A-Self-Tapping Screw (2 used)
B-Nut
C-Nut
D-Mark
E-Dimension, 18-20 mm (0.71-0.78 in.)

E54778
E54924
E54914

OUO6085,0000692 -19-19JUN07-1/1