Wheel Spindle Positions on 558 Balers with 31 x 13.5-15 Tires and MegaWide™ Plus Pickup

NOTE: Wheel spindle position controls baler height and feeding capacity.

Normal position is recommended for most baling conditions.

  • Recommended with bale ramp.

Raised position is recommended for straw crops with tall stubble and soft ground conditions.

  • Recommended with bale ramp.
  • Pickup teeth may touch the ground with pickup completely lowered depending on tractor drawbar height. Recommended to adjust height with at least 25 mm (1 in.) ground clearance.
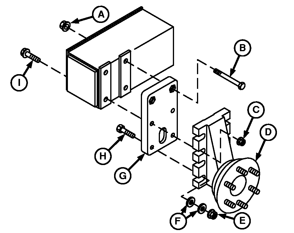
  • Tighten nuts to specification.

Specification

Wheel Spindle Mounting Hardware -Torque 237 N·m (175 lb.-ft.)

If wheel spindle position needs changed, refer to ADJUSTING WHEEL SPINDLES in this section.


A-Flange Nut, M16 (2 used)
B-Cap Screw, M16 x 150-8.8 (2 used)
C-Flange Nut, M16 (2 used)
D-Hub
E-Flange Nut, M16 (2 used)
F-Washer, 17 x 34 x 4 mm (4 used)
G-Spacer Plate
H-Cap Screw, M16 x 80-8.8 (2 used)
I-Cap Screw, M16 x 180-10.9 Flange Head (2 used)

E57170

Normal Position

E57171

Raised Position

PP98408,00000E4 -19-22SEP09-1/1