Install Wheel Spindles on 458 and 558 Baler with Regular Pickup and 11L-14 Tires or 31 x 13.5-15 Tires

NOTE: Wheel spindles and tires are factory installed in the shipping position on 458 baler with regular pickup. Change spindles from shipping position to normal position.

IMPORTANT: Do not operate baler with wheel spindle in shipping position.

NOTE: Wheel spindle position controls baler height and feeding capacity.

NOTE: Normal position illustrated is used for most baling conditions. For other crop conditions, refer to WHEEL SPINDLE POSITIONS in Preparing the Baler section of the operator's manual.

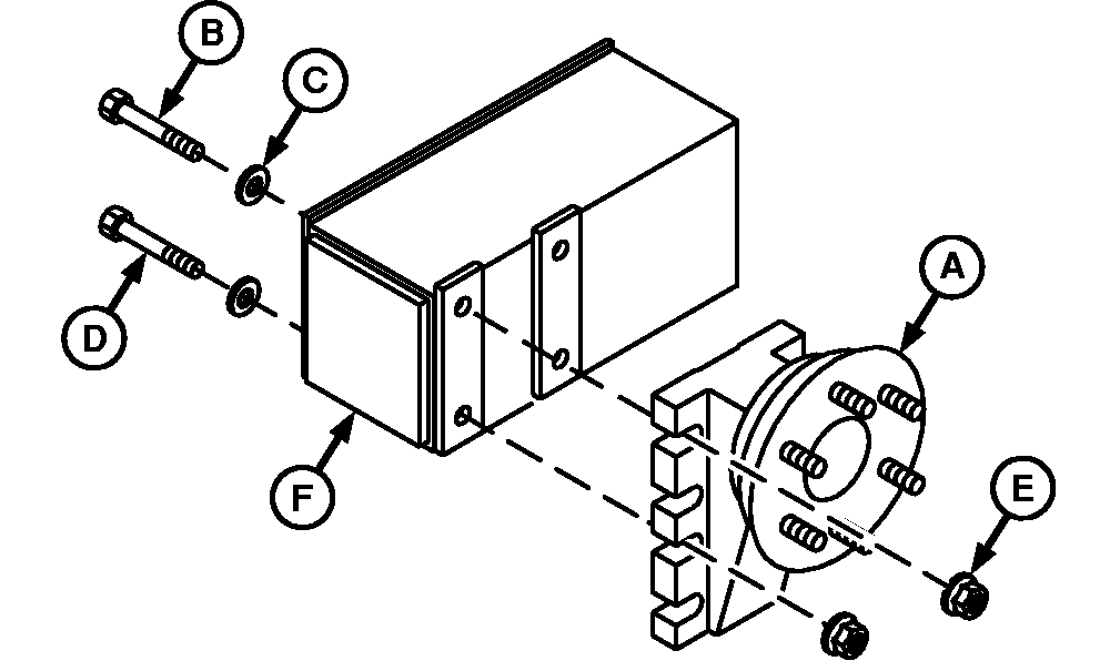
IMPORTANT: When raising baler with a jack or hoist, place a jackstand or equivalent support under baler frame (F) before installing spindles and tires.

1. Park baler on level surface and chock wheels.

2. Using a jack or hoist, raise one side of baler. Place a jackstand or equivalent support under baler frame at location (F).

3. Remove four flange nuts (E) on cap screws (B and D) and remove hub (A).

4. Rotate hub (A) to normal position. Install spindle with hub offset (A) up. Fasten with two M16 x 150 cap screws (B) (top holes), two M16 cap screws (D) (bottom holes), four 17 x 35 x 4 mm washers (C), and four nuts (E) using the top and third notches in spindle. Torque nuts to specification.

Specification

Wheel Spindle Cap Screws -Torque 237 N·m (175 lb.-ft.)

  • (458 and 458S) Use two M16 x 150-8.8 cap screws (D).
    E57225

    Shipping Position

    E58049

    Normal Position


    A-Hub Offset
    B-Cap Screw, M16 x 150 (2 used)
    C-Washers, 17 x 35 x 4 mm (4 used)
    D-Cap Screw, M16 x 160 (2 used) (558 only)
    E-Cap Screw, M16 x 150 (2 used) (458 and 458S only)
    F-Location (Baler Frame)

PP98408,00000E7 -19-02OCT09-1/2


  • (558) Use two M16 x 160-8.8 cap screws (D).
5.

Repeat procedure on opposite side.

PP98408,00000E7 -19-02OCT09-2/2