Install Left-Hand Upper Drive Roll Bearing


A-Stamp (UP)

E57624

Right-hand Upper Drive Roll Bearing

E56402

Left-hand Upper Drive Roll Bearing

E54919

PP98408,000016D -19-01OCT09-1/8


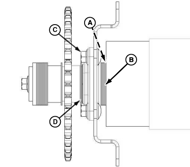
IMPORTANT: To prevent bearing failure, always loosen the three RIGHT-HAND SIDE flange mounting bolts (A) before tightening left-hand side (drive side) center bolt (B). Adjust and tighten right-hand side mounting bolts per this instruction AFTER left-hand side is tightened.

Right-hand Side: Loosen three flange mounting cap screws (A) and cap screw (C).

IMPORTANT: Locate housing with "UP" stamp (A) toward top of baler.

Clean washers and replace if necessary.

1. Install chamfered spacer (A) (chamfer toward roll), washers (B), and bearing (with "UP" stamp toward top of baler) on shaft, snug four flange nuts (C), and pull roll firmly to left-hand side of baler.

2. Center roll side-to-side:

  • Center roll side-to-side.
  • Measure from outer rubber strip to side sheet on both sided to check roll centering.
  • The difference between the two dimensions must be 6 mm (0.24 in.) or less.
  • If needed, add or remove washers between roll and left-hand bearing to center roll.

3. Tighten flange nuts (C) to specifications.

Specification

Flange Nut and Bolt -Torque 95 N·m (70 lb.-ft.)

NOTE: Install sprocket with larger hub pointing toward roll.

4. Install sprocket and washers (D).

E56404


A-Chamfered Spacer
B-Washers
C-Flanged Nut
D-Washers

PP98408,000016D -19-01OCT09-2/8


5. Measure clearance (B) between sidesheet and outer surface of sprocket (A). Clearance should be within specification.

Specification

Sidesheet-to-Outer Surface of Sprocket -Clearance 90.5 mm (3.6 in.)

6. If not within specification, add or remove washers between sprocket and bearing as necessary.

7. Install one thin washer and spacer.


A-Outer Surface of Sprocket
B-Clearance, 90.5 mm (3.6 in.)

E55842

PP98408,000016D -19-01OCT09-3/8


8. Tap right-hand side of upper roll to remove all endplay to left-hand side of baler.

9. Hold upper roll shaft to left-hand side and push upper drive roll sprocket (E) and washers inward.

10. Install one thin washer and spacer (F).

IMPORTANT: To avoid center bolt loosening or hex knock, keep washers (A) centered on shaft. Ensure that washers do not rotate by hand. Joint must be clamped to eliminate hex knock.

11. Install washers (A) between spacer and end of shaft, so washers are flush with end of shaft, and add one washer (A). Add a thick, large ID washer (B). Install 13 x 57 x 6 mm (0.5 x 2.25 x .24 in.) washer (C).

12. Install M12 x 75 cap screw (D).

13. Tighten cap screw (D) to specification.

Specification

Cap Screw -Torque 140 N·m (103 lb.-ft.)


A-Thin Washers (As Required)
B-Thick, Large Washer
C-Heavy Washer 13 x 57 x 6 mm (0.5 x 2.25 x .24 in.)
D-Cap Screw, M12 x 75
E-Upper Drive Roll Sprocket
F-Spacer

E57625
E54860

Drive Sprocket

PP98408,000016D -19-01OCT09-4/8


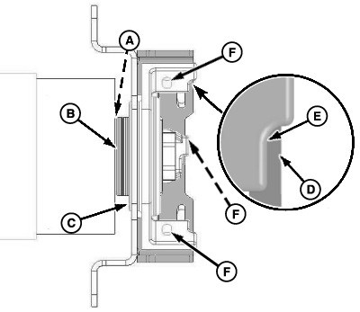
14. Right-hand Side: Make sure there are enough washers (B) between end of roll tube and bearing to locate bearing cast housing correctly. Remove three M8 cap screws (F) to be installed later.

15. Hold bearing (C) tight against washers. Edge of mounting strap (D) must align within the step of cast housing (E) in three locations.


A-Spacer
B-Thin Washer
C-Bearing
D-Mounting Strap
E-Cast Housing
F-Cap Screw, M8 (3 used)

E56405

PP98408,000016D -19-01OCT09-5/8


16. Add or subtract washers behind bearing, if necessary, to locate cast step (A) correctly with mounting edge (B) in all three locations. Set mounting edge to specification.

Specification

Cast Step -Distance 1.5-4.5 mm (0.059-0.177 in.)


A-Cast Step
B-Mounting Strap Edge
C-Dimension, 1.5-4.5 mm (0.059-0.177 in.)

E54509

PP98408,000016D -19-01OCT09-6/8


17. Install three flange mounting cap screws (A) and nuts (B). Only tighten cap screws enough to get a light between cast flange and mounting strap. Some rotation (a light tap) of the cast flange around the outer race may be required to align flange correctly at all three locations. Do not tighten cap screws at this time.

NOTE: Rolls must rotate freely. Check roll clearance through hole in sidesheet.

If roll is equipped with wiper pins, it is permissible to grind drive roll wiper pins to 3 mm (0.12 in.) minimum height.

18. Spin upper drive roll to verify clearance with sidesheet hole according to specifications. Add or remove shims (F) or move right-hand bearing plate, or grind drive roll wiper pins, if equipped.

Specification

Rollers-to-Sidesheet -Clearance 1 mm (0.04 in.)

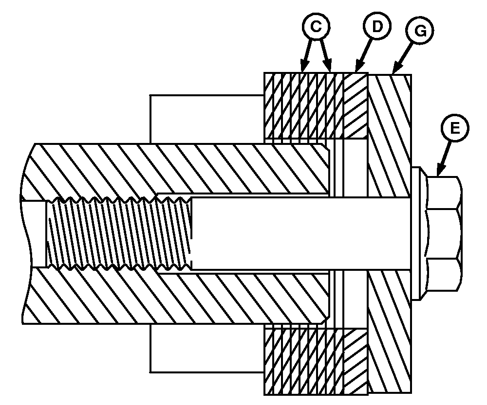
IMPORTANT: To avoid center cap screw from loosening or hex knock, keep washers (C) centered on shaft.

19. Install washers (C) between bearing and end of hex shaft, so washers are flush with end of shaft, and add one more washer. Add large thick ID washer (D).

20. Install M12 x 80 cap screw (E) and 13 x 70 x 12 mm (0.50 x 2.75 x 0.47 in.) end washer (G).


A-Flanged Cap Screws (3 used)
B-Flanged Nut (3 used)
C-Washers
D-Large (Thick Washer)
E-Cap Screw, M12 x 80
F-Shims
G-Washer, 13 x 70 x 12 mm (0.50 x 2.75 x 0.47 in.)

E57567
E57565
E57568

PP98408,000016D -19-01OCT09-7/8


IMPORTANT: To prevent bearing failure, always tighten M12 cap screw (C) before tightening flange mounting M8 cap screws (A) and (B).

NOTE: Ensure washers do not rotate by hand. Joint must be clamped to eliminate hex knock.

21. Tighten M12 x 80 cap screw (C) to specification.

Specification

M12 Cap Screw -Torque 140 N·m (103 lb.-ft.)

22. Tighten middle flange mounting cap screw (B) first. Tighten remaining two flange mounting cap screws (A). Tighten all three cap screws to specification.

Specification

Cap Screw -Torque 40 N·m (30 lb.-ft.)

23. Check position of mounting edge to cast step in three locations. If mounting edge does not align in the cast sets, repeat Steps 14-22.

E57566


A-Cap Screw, M8 (2 used)
B-Cap Screw, M8
C-Cap Screw, M12 x 80

PP98408,000016D -19-01OCT09-8/8