Contrôle et réglage de l'assiette de l'unité
de coupe
ATTENTION: Les lames rotatives sont dangereuses. Avant de régler
ou d'effectuer l'entretien du plateau de coupe, procéder comme
suit :
-
Débrancher le/les câble(s) de bougie ou le câble
négatif (-) de la batterie pour éviter le démarrage
accidentel du moteur.
-
Toujours porter des gants pour manipuler les lames de tondeuse
ou travailler à proximité.
NOTE: Les roues de l'unité de coupe ne doivent pas toucher
le sol lors du réglage de l’assiette de l'unité
de coupe.
Première méthode
-
Vérifier que la machine est garée sur une surface
plate et de niveau.
-
Garer la machine en toute sécurité. (Voir Stationnement
en toute sécurité dans la section Sécurité.)
-
Vérifier que les pneus sont gonflés à la
pression correcte. La pression des pneus est indiquée sur le
flanc du pneu.
-
Relever l'unité de coupe à la position la plus
haute.
-

GXAL41980-UN-04MAR13
Unité de coupe de 107 cm (42 in.) illustrée
Placer trois blocs de bois de 51 mm (2 in.) sous les
bords (A) de l'unité de coupe.
-
Abaisser l'unité de coupe à la position de hauteur
de coupe de 63 mm (2.5 in.).
Pour les modèles D130, abaisser l'unité de coupe
à la position de hauteur de coupe de 57 mm (2-1/4 in.).
-
Vérifier que l'unité de coupe est de niveau et
touche légèrement chacun des trois blocs de bois.
-
Relever la hauteur de coupe à la position la plus haute
suivante et retirer les trois blocs de bois.
-
Tourner l’écrou (C) du bras d'attelage avant et
dans le sens antihoraire de 1 à 2 tours complets de sorte
que l’avant de l'unité de coupe soit de 3 à 6 mm
(1/8-1/4 in.) plus basse que l’arrière. Ce réglage
empêche une « double coupe » qui gaspillent
de la puissance et cause des extrémités d’herbe
marrons.
| Objet de la mesure | Nature de la mesure | Valeur prescrite |
|
Unité de coupe, D'avant en arrière | Hauteur | 1/8 à 1/4 pouce
(3 à 6 mm) |
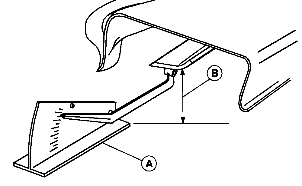
Deuxième méthode
NOTE: Un indicateur analogique de mise à niveau en option
(AM130907) est disponible auprès du concessionnaire John Deere.
Il permet une mise à niveau précise de l'unité
de coupe en mesurant son assiette au niveau des extrémités
des lames.
-
Vérifier que la machine est garée sur une surface
plate et de niveau.
-
Garer la machine en toute sécurité. (Voir Stationnement
en toute sécurité dans la section SÉCURITÉ.)
-
Gonfler les pneus à la pression correcte.
-
Déplacer la poignée de relevage de l'unité
de coupe jusqu'à la hauteur de coupe souhaitée.
-
Mesurer l'assiette transversale de l’unité de coupe.
-

GXAL41983-UN-04MAR13
Un indicateur analogique de mise à niveau
(AM130907) (A) pratique est disponible auprès du concessionnaire.
Placer les lames de la tondeuse comme suit et mesurer la
distance entre chaque extrémité extérieure de
lame (B) et la surface de niveau.
-

GXAL41984-UN-04MAR13
Tourner la lame gauche (C) comme illustré. Tenir la
courroie et tourner la lame droite (D) comme illustré. Prendre
les mesures pour les deux lames.
La différence entre les mesures relevées pour
chaque lame ne doit pas être supérieure à la distance
prescrite.
| Objet de la mesure | Nature de la mesure | Valeur prescrite |
|
Des extrémités extérieures des lames de
l'unité de coupe au sol (différence) | Distance | 1/8 pouce (3 mm) |
-

GXAL41985-UN-04MAR13
Régler l’assiette de l'unité de l’unité
de coupe, si nécessaire, en tournant les écrous arrière
(E) dans le sens horaire pour relever le côté de l'unité
de coupe ou dans le sens antihoraire pour abaisser l'unité
de coupe.
-
Mesurer l'assiette longitudinale de la tondeuse.
-

GXAL41986-UN-04MAR13
Tourner la lame droite (F) de sorte que son extrémité
soit orientée droit devant.
-
Mesurer l'écart entre l'extrémité de la
lame et le sol. Prendre les mesures pour les deux lames.
La pointe avant de lame doit être plus basse, de la distance
prescrite, que la pointe arrière de lame.
| Objet de la mesure | Nature de la mesure | Valeur prescrite |
|
Des extrémités extérieures des lames de
l'unité de coupe au sol (différence) | Distance | 3 à 6 mm (1/8
-1/4 in.) |
-

GXAL41987-UN-04MAR13
Unité de coupe de 107 cm (42 in.) illustrée
Régler l’assiette de l’unité de
coupe, si nécessaire, en tournant l’écrou (G)
dans le sens antihoraire pour abaisser l’avant de l'unité
de coupe ou dans le sens horaire pour le relever.
|
|
JS86122,0000117-28-20130807
|
|