Revisión y ajuste del nivel de la plataforma de corte
ATENCIÓN: Las cuchillas giratorias son peligrosas. Antes de ajustar
o intervenir en la unidad de corte:
-
Desconecte el/los cable(s) de la(s) bujía(s) o el cable
negativo (-) de la batería para evitar que el motor arranque
accidentalmente.
-
Usar siempre guantes al manipular las cuchillas del cortacésped
o al trabajar cerca de ellas.
NOTA: Cuando se nivele la plataforma de corte, sus ruedas no
deben tocar el suelo.
Método 1
-
Comprobar que la máquina esté en una superficie
plana y nivelada.
-
Estacionar la máquina de forma segura. Ver “Estacionamiento
seguro” en el apartado SEGURIDAD.
-
Comprobar que los neumáticos tengan la presión
correcta. La presión se indica en el lateral del neumático.
-
Subir la plataforma de corte a su posición más
alta.
-

GXAL41980-UN-04MAR13
Plataforma de corte de 107 cm (42 in.) en la imagen
Colocar tres bloques cortos de madera de 51 mm (2 in.) bajo
los bordes (A) de la plataforma de corte.
-
Bajar la plataforma de corte a la posición de altura
de corte de 63 mm (2,5 in.).
Para los modelos D130 bajar la plataforma a la posición
de altura de corte de 57 mm (2-1/4 in.).
-
Comprobar que la plataforma de corte esté nivelada y
en ligero contacto con los tres bloques de madera.
-
Elevar la altura de corte hasta la posición inmediatamente
superior y retirar los tres bloques de madera.
-
Girar la tuerca (C) del brazo de tiro delantero una o dos vueltas
completas en sentido antihorario, para que la parte delantera de la
plataforma quede 3-6 mm (1/8-1/4 in.) más baja que la parte
trasera. Con este ajuste se evita el “doble corte”, que
desperdicia potencia y produce puntas de hierba marrón.
| Elemento | Medición | Especificación |
|
Plataforma de corte, longitudinal | Altura | 3-6 mm (1/8-1/4 in.) |
Método número dos
NOTA: El concesionario John Deere dispone de un calibrador de
nivelación opcional (AM130907) para plataformas de corte. Facilita
nivelaciones precisas de la plataforma de corte, midiendo su nivel
en las puntas de las cuchillas.
-
Comprobar que la máquina esté en una superficie
plana y nivelada.
-
Estacionar la máquina de forma segura. Ver “Estacionamiento
seguro” en el apartado SEGURIDAD.
-
Infle los neumáticos a la presión correcta.
-
Mueva la palanca de elevación a la altura de corte que
se desee.
-
Medir el nivel de la plataforma del cortacésped (transversalmente).
-

GXAL41983-UN-04MAR13
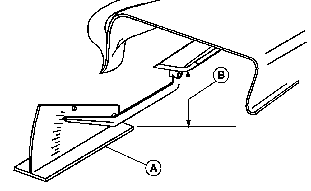
El concesionario dispone de un indicador de nivel
adecuado (A) (AM130907).
Colocar las cuchillas como se muestra a continuación
y medir desde cada punta externa (B) hasta la superficie del nivel.
-

GXAL41984-UN-04MAR13
Girar la cuchilla izquierda (C) como se muestra. Sujetar
la correa de transmisión y girar la cuchilla derecha (D) como
en la imagen. Medir ambas cuchillas.
La diferencia entre cada medición de cuchilla no debe
ser mayor que la distancia especificada.
| Elemento | Medición | Especificación |
|
Distancia entre las puntas exteriores de la cuchilla de la plataforma
de corte y el suelo (diferencia) | Distancia | 3 mm (1/8 in.) |
-

GXAL41985-UN-04MAR13
Ajustar el nivel de la plataforma de corte, si es necesario,
girando las tuercas traseras (E) en sentido horario para elevar el
costado de la plataforma de corte o en sentido antihorario para bajar
la plataforma de corte.
-
Medir el nivel del cortacésped (longitudinalmente).
-

GXAL41986-UN-04MAR13
Girar la cuchilla derecha (F) de modo que su punta quede
hacia el frente de la máquina.
-
Medir desde la punta de la cuchilla hasta la superficie. Medir
ambas cuchillas.
La punta delantera de la cuchilla debe estar más baja
que la punta trasera de la cuchilla.
| Elemento | Medición | Especificación |
|
Distancia entre las puntas exteriores de la cuchilla de la plataforma
de corte y el suelo (diferencia) | Distancia | 3–6 mm (1/8 -1/4 in.) |
-

PY19193-UN-27JAN14
Plataforma de corte de 107 cm (42 in.) en la imagen
Ajustar el nivel de la plataforma de corte, si es necesario,
girando la tuerca (G) hacia la izquierda para bajar la parte delantera
de la plataforma de corte o hacia la derecha para subir la parte delantera
de la plataforma de corte.
|
|
KU02345,0000108-63-20140127
|
|