Lubricating Mower Deck Spindles

NOTE: Removal of belt shields is not necessary to lubricate the spindles.

  1. Remove rubber mat and mower deck foot plate.

  2. Lubricate the mower deck spindles, as indicated.


48C and 54C Mower Decks

  • MXT010739
    MXT010739-UN-22APR14

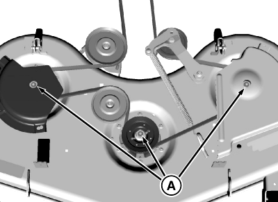
    Z425 with 48 in. deck shown.

    Lubricate three mower deck spindle grease fittings (A) with two pumps of grease at specified interval.


48HC, 54HC, 60HC and 62C Mower Deck

  • MXT010740
    MXT010740-UN-22APR14

    48HC shown. 54HC and 60HC similar.

    Lubricate three mower deck spindle grease fittings (A) with two pumps of grease at specified interval.

TH84124,00000C4-19-20140423