Adjusting Mower Level
CAUTION: Avoid injury! Rotating blades are dangerous. Before adjusting or servicing mower:
-
Disconnect spark plug wire(s) or battery negative (—)
cable to prevent engine from starting accidentally.
-
Always wear gloves when handling mower blades or working near
blades.
NOTE: Mower deck anti-scalp wheels should not contact the ground
when leveling the deck.
-
Park machine safely. (See Parking Safely in the SAFETY section.)
-
Inflate tires to the correct pressure. (See Checking Tire Pressure
in the SERVICE MISCELLANEOUS section.)
-
Position caster wheels to the forward driving position.
-
Set mower to preferred cutting height, and lower deck into the
mowing position.
-
Measure mower level (side-to-side).
-

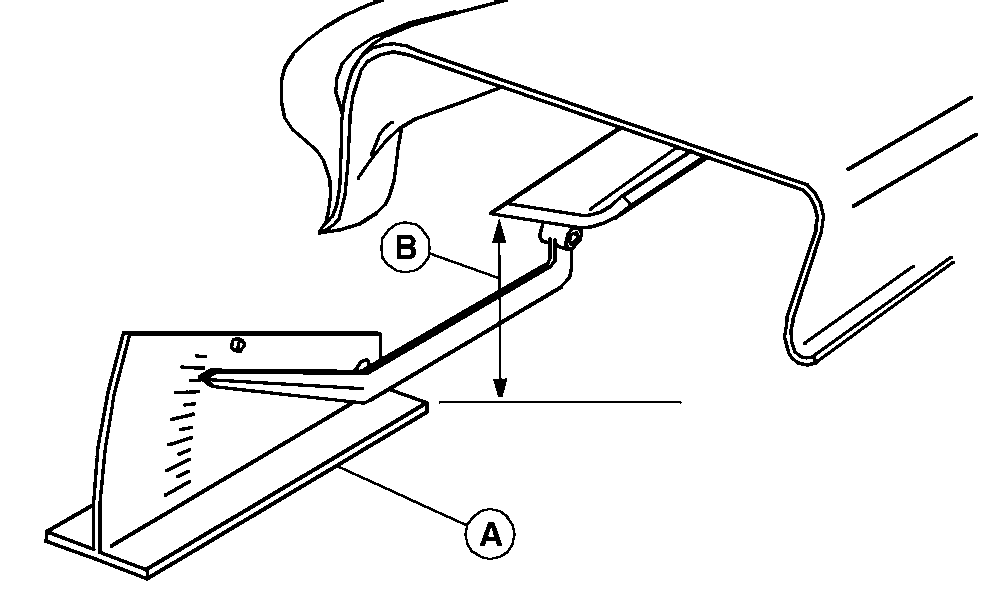
MXAL42797-UN-09APR13
A convenient leveling gauge (A) (AM130907) is available
from your dealer.
Position mower blades as follows and measure from each outside
blade tip (B) to the level surface.
-

MXAL42798-UN-09APR13
Turn left blade (C) as shown. Hold belt and turn right blade
(D) as shown. Take measurement for both blades.
The difference between blade measurements must not be more than
3 mm (1/8 in.).
-

GXT003029-UN-29JUN16
Adjust mower level, if necessary, by turning rear nuts using
tool (E) clockwise to raise the side of the mower deck, or counterclockwise
to lower the mower deck. Use a backup wrench to hold the upper portion
of threaded rod (F) during adjustment.
NOTE: Ensure bottom of lock nut is fully engaged on threaded
fitting to avoid hardware loosening during operation.
-
Measure mower level (front-to-rear).
-

MXAL42800-UN-09APR13
Turn right blade (D) so a blade tip points straight forward.
-
Measure from blade tip to the surface. Take measurement for
both blades. The front blade tips must be lower than the rear blade
tips by the specification listed.
| Item | Measurement | Specification |
|
Front-to-Rear Blade Tip Variation | Height | 3–6 mm (1/8 - 1/4 in.) |
-
42A Mower Deck

GXT001458-UN-02JUN15
Adjust mower front to rear level by loosening rear nut (G)
on front lift rod. Turn front nut (H) clockwise to raise front of
mower or counterclockwise to lower it. Tighten rear nut (G) after
adjustment is complete.
NOTE: Verify that deck will latch in transport position. If
it does not latch, turn both rear adjusting nuts counterclockwise
equally to lower rear of deck until deck latch will engage. Check
front lift rod adjustment, adjust if necessary.
-
48A and 54A Mower Decks

GXT002898-UN-28MAR16
Adjust mower front to rear level by loosening rear nuts (G)
on front lift rods. Turn front nuts (H) clockwise to raise front of
mower or counterclockwise to lower it. If lift rod is not tight against
both deck hooks, tighten loose side until both sides are tight against
deck hooks. Shake the deck slightly to ensure that it has settled
into position. Tighten rear nuts (G) after adjustment is complete.
NOTE: Verify that deck will latch in transport position. If
it does not latch, turn both rear adjusting nuts counterclockwise
equally to lower rear of deck until deck latch will engage. Check
front lift rod adjustment, adjust if necessary.
|
|
MX52301,0000F02-19-20160629
|
|