Apriete de pernos de ruedas motrices

IMPORTANTE: Los pernos de las ruedas deben estar limpios y libres de aceite antes de instalarlos. El valor de apriete corresponde a un perno limpio y seco. La lubricación reduce la fricción y sobrecarga los pernos.

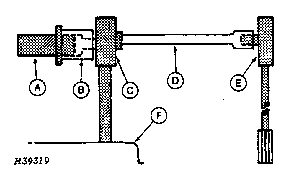
1. Cada vez que se retire una rueda motriz, apretar los pernos de la rueda hasta el valor especificado

Valor especificado

Pernos de ruedas -(Par de apriete) 200 N·m + 1/4 de vuelta (150 lb-ft + 1/4 de vuelta)
sin usar un multiplicador de par. Apretar los pernos siguiendo un patrón de cruz.

2. Usar un multiplicador de par de 4 1 y girar la cabeza del perno 1/4 de vuelta (un trinquete o llave torsiométrica dará una vuelta completa). Tirar el mango del multiplicador contra el interior de la rueda al apretarla.

NOTA: Si la cosechadora tiene espaciadores de rueda de 100 mm (4 in.), girar cada cabeza de perno 1/2 vuelta (un trinquete o una llave torsiométrica dará dos vueltas enteras).

H39319


A-Perno de rueda
B-Casquillo de 30 mm (impulsor de 3/4 in.)
C-Multiplicador de 4 a 1 (capacidad 1000 lb-ft) (impulsor de entrada de 1/2 in., de salida de 3/4 in.)
D-Extensión con vástago impulsor de 1/2 in. x 18 in. de largo
E-Llave torsiométrica
F-Rueda

AG,OUO1035,1616 -63-24JAN00-1/1