Ruedas dentadas de eje superior del alimentador
Dependiendo del cultivo que se esté cosechando, revisar el desgaste de las ruedas dentadas del eje superior.
|
|
|
|
HX,SERVFH,E -63-22JUL99-1/6
|
|
Si las ruedas dentadas se han desgastado más del valor especificado, se puede invertir el eje y las ruedas dentadas para prolongar su duración.
Valor especificado
|
Ruedas dentadas (A)
-(Distancia)
|
12 mm
|
(1/2 in.)
|
Para invertir las ruedas dentadas:
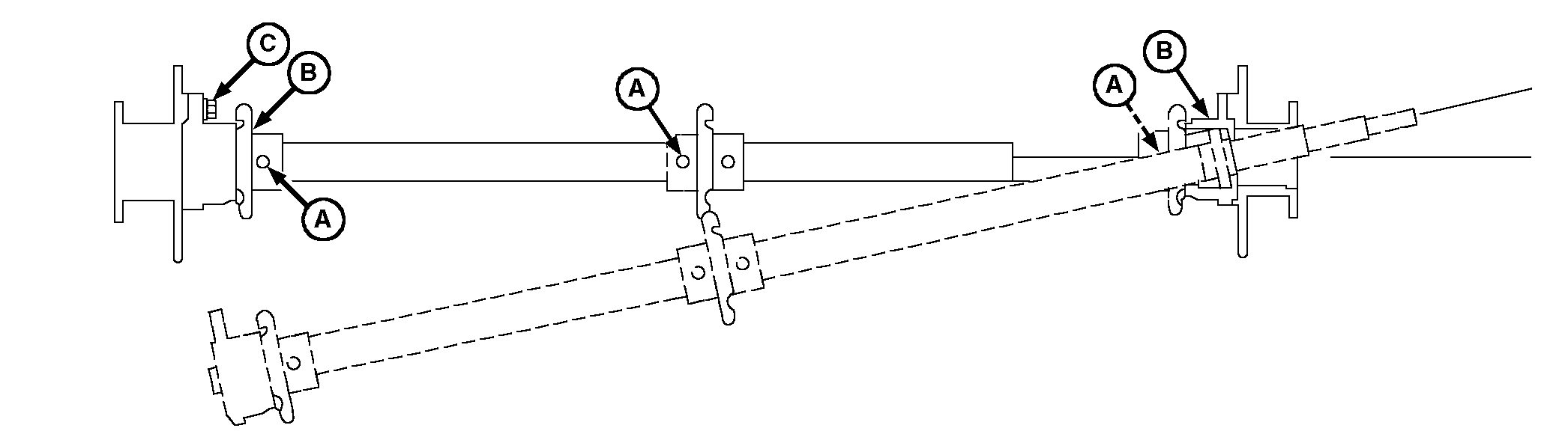
Bajar el alimentador y quitar la puerta superior (B).
Tirar la palanca (C) y bajar la puerta inferior del alimentador.
A-Desgaste de la rueda dentada, 12 mm (1/2 in.)
B-Puerta superior
C-Palanca
|
|
|
|
HX,SERVFH,E -63-22JUL99-2/6
|
|
Quitar la cadena impulsora derecha (A).
Retirar el embrague (B) y el tubo espaciador.
Aliviar la tensión de la cadena del alimentador con el perno de argolla (C) y quitar la cadena.
A-Cadena impulsora derecha
B-Embrague
C-Perno de argolla
|
|
|
|
HX,SERVFH,E -63-22JUL99-3/6
|
| | A-Tornillos de fijación
| B-Ruedas dentadas exteriores
| C-Pernos
|
|
|
Aflojar los tornillos de fijación (A) de las ruedas dentadas.
Mover las ruedas dentadas exteriores (B) hacia adentro, alejándolas de las cajas de cojinetes en aprox. una pulgada.
Quitar los pernos (C) de la caja del cojinete izquierdo.
|
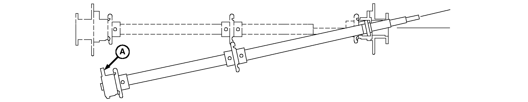
Tirar la caja del cojinete izquierdo para alejarla de su montaje y bajar el extremo izquierdo del eje.
Tirar el eje con la caja del cojinete y las ruedas dentadas para alejarlo del cojinete derecho.
Invertir o cambiar las ruedas dentadas.
|
|
|
HX,SERVFH,E -63-22JUL99-4/6
|
| | A-Caja de cojinete izquierdo
|
|
|
NOTA:
Si se invierten las ruedas dentadas desgastadas en un solo lado, las ruedas dentadas derecha e izquierda se intercambian entre sí y la rueda dentada interior se invierte.
Instalar la caja del cojinete izquierdo (A) en el extremo del eje.
Instalar el extremo circular del eje en el cojinete derecho y girar el lado izquierdo hacia arriba para alinear la caja del cojinete con el montaje. Sujetar la caja del cojinete al montaje con los pernos. Apretar los pernos según se especifica.
Valor especificado
|
Pernos
-(Par de apriete)
|
120 N·m
|
(88 lb-ft)
|
|
Armar el tubo espaciador, embrague, arandela plana y la tuerca embridada en el eje superior. Apretar la tuerca al valor especificado
Instalar la contratuerca del embrague contra la tuerca embridada y apretar conforme a la especificación.
Valor especificado
|
Tuerca embridada y contratuerca
-(Par de apriete)
|
350 N·m
|
(258 lb-ft)
|
|
|
|
HX,SERVFH,E -63-22JUL99-5/6
|
|
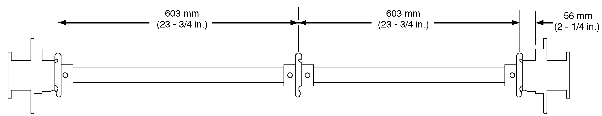
Colocar el centro de los dientes de la rueda dentada a 56 mm (2-1/4 in.) de la caja del cojinete.
Colocar las ruedas dentadas restantes separadas 603 mm (23-3/4 in.) entre sí.
Valor especificado
|
Rueda dentada central
-(Distancia)
|
56 mm
|
(2-1/4 in.)
|
|
Ruedas dentadas restantes
-(Distancia)
|
603 mm
|
(23-3/4 in.)
|
Apretar los tornillos de fijación de la rueda dentada según la especificación.
|
Valor especificado
|
Tornillo de fijación
-(Par de apriete)
|
50 N·m
|
(37 lb-ft)
|
Instalar la cadena del transportador y la cadena impulsora derecha.
Instalar la puerta superior y cerrar la puerta inferior del alimentador.
|
|
|
HX,SERVFH,E -63-22JUL99-6/6
|
|