Adjusting Cutterbar Rearward

Remove bolts (A), (B), (C) and (D).

Loosen bolt (E).


A-E-Bolt

H38977

900CP,RPA,H -19-18AUG97-1/4


causym CAUTION: Always lower safety stop when working under platform. Set parking brake, shut off engine and remove key.

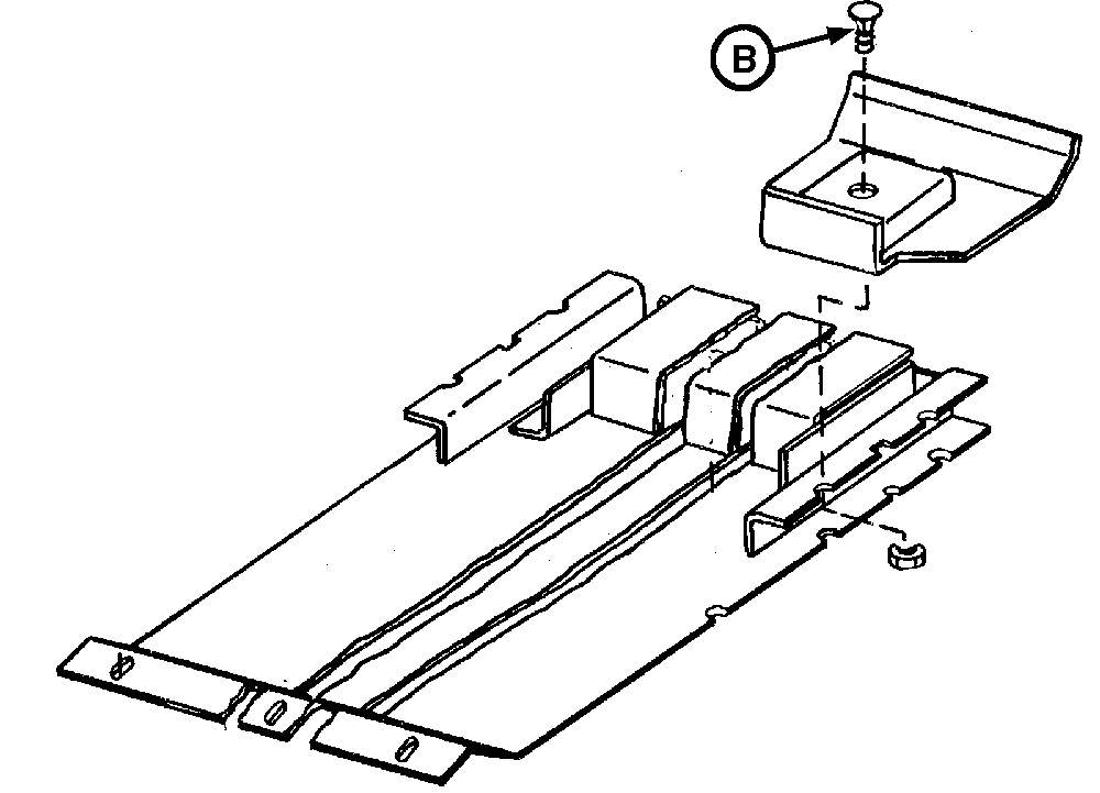
Remove bolts (A) from each tilt channel.

Remove center two or three skid plates and four 5/16 in. round head bolts in row. Remove two skid plates for 918, 925 and 930 Platforms or remove three skid plates for 920 and 922 Platforms.

(Heavy Duty Skid Plates Only): Remove nut, bolt (B) and plate from skid plate.


A-Bolt
B-Bolt

H42802
H51196

Heavy Duty Skids Plates

900CP,RPA,H -19-18AUG97-2/4


Remove knockout plugs (C) from rear position (D).

Remove optional auger anti-wrap shields.

Lower platform to ground.

Install half of bolts (A) in rear keyhole slot in tilt channel.

Slowly drive combine forward, sliding cutterbar into correct position.

NOTE: If cutterbar does not slide easily, raise platform all the way up. Lower safety stop under feeder house. Position one person at each divider point and rock divider point up and down to slide cutterbar to correct position.

Install four 5/16 in. round head bolts in holes (A) from knockout plugs.

NOTE: Bolts hold feed plates down to prevent material from lifting feed plate when feeder house is reversed.

Replace center skid plates.

Replace and tighten remaining bolts (A) in each tilt channel in rear position (D) with bolt heads up.


A-Bolts
B-Mid Position
C-Rear Position
D-Extended Position
E-Platform Center Line

H42802
H42805

918, 925, 930 Platforms

H42806

920, 922 Platforms

900CP,RPA,H -19-18AUG97-3/4


On both ends of platform, push divider point down against end sheets.

Tighten bolt (E).

Replace and tighten bolts (A) and (C).

Save bolt (B) and (D) for future use.

Move cutterbar drive belt idler to rear hole (F) for correct belt tension.

If platform is equipped with auger anti-wrap shields, reposition shields to keep about 13 mm (1/2 in.) from auger flighting.

IMPORTANT: Position of reel fingers or slats changes every time cutterbar is adjusted. Check for 38 mm (1-1/2 in.) finger clearance.


A-E-Bolt
F-Rear Hole

H38977
H43051

900CP,RPA,H -19-18AUG97-4/4