Adjusting Left-Hand Stabilizer Socket (Flex Platforms Only)

causym CAUTION: Always lower the safety stop when working under the platform. Set parking brake, shut off engine and remove key.

NOTE: Use the following procedure to adjust a new socket for the left-hand stabilizer.

Raise the platform completely.

Remove all lock-out bolts and washers (A) and save hardware.

With cutterbar at bottom of float range, install a 3/8 x 2 in. cap screw from the top through the stabilizer casting.

Install lockout washer and nut on cap screw. Tighten nut to press skid shoe against stabilizer casting.

H59205


A-Lock-Out Bolt

900CP,SE,Y -19-18AUG97-1/3


Insert a small pry bar in plug access hole (A) and rotate socket (B) as far as possible.


A-Hole
B-Socket

H43957

900CP,SE,Y -19-18AUG97-2/3


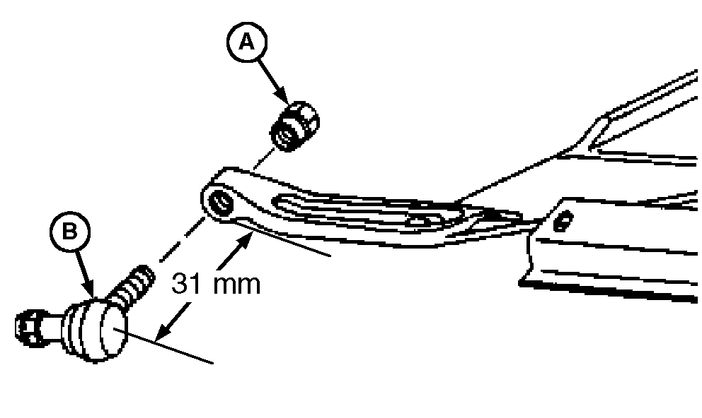
Use a 1-in. socket on an extension 508-660 mm (20-26 in.) long to tighten nut (A) to specification.

Specification

Nut -Torque 135 N·m (100 lb-ft)
Keep socket (B) from rotating while tightening, by inserting the small pry bar in the plug access hole.

Remove 3/8 x 2 in. cap screw and lock-out washer.


A-Nut
B-Socket

H58430

900CP,SE,Y -19-18AUG97-3/3