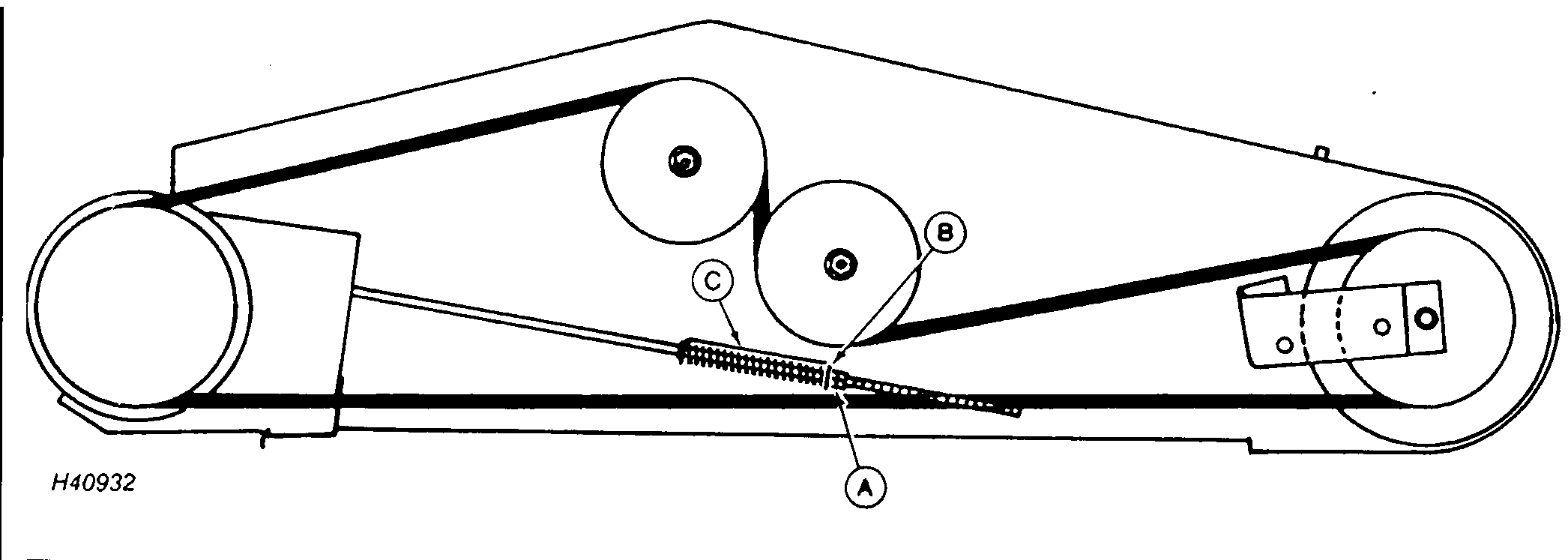
Adjusting Fixed Speed Feeder House Belt

H40932
 

A-Nuts

B-Washer

C-Gauge

 

Tighten nuts (A) until washer (B) aligns with end of gauge (C).

HX,AG,SF7118 -19-20MAR90-1/1