Replacing Chopper Blades (Regular Chopper)

causym CAUTION: Engine must be off, key removed and parking brake set.

Replace any broken or damaged chopper blades immediately. A broken blade will unbalance the chopper and cause serious damage.

To install new blade, remove cap screws (A) from rod retainer and remove retainer.

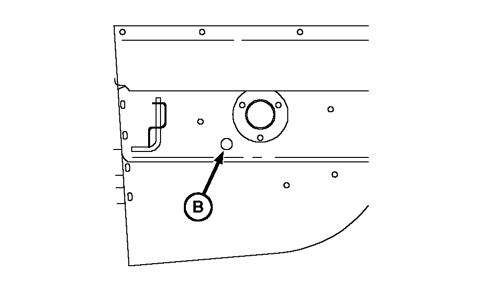
Rotate chopper until rod lines up with hole (B) in chopper side sheet.

Remove rod and replace blade.


A-Cap Screws
B-Hole

H55901
H59702

HX,AG,SF7149 -19-17OCT96-1/2


H55902
 

A-F-Blades

 

IMPORTANT: Chopper balance must be maintained. When replacing one broken blade, six blades must be replaced in the proper locations to maintain chopper balance.

For example:

If blade (A) is broken, adjacent blades (B) and (C) must be replaced, as well as corresponding blades (D), (E), and (F) on the opposite end of the rotor.

Replacement blades are sold in sets of six or enough to replace all blades.

HX,AG,SF7149 -19-17OCT96-2/2