Aligning Unloading Auger Drive

H59721
H59720


A-Nuts
B-Bolts


C-Nuts
D-Arm


E-Arm


F-Adjustment Nuts

OUO1035,000030B -19-20SEP00-1/2


causym CAUTION: Set parking brake, shut off engine and remove key.

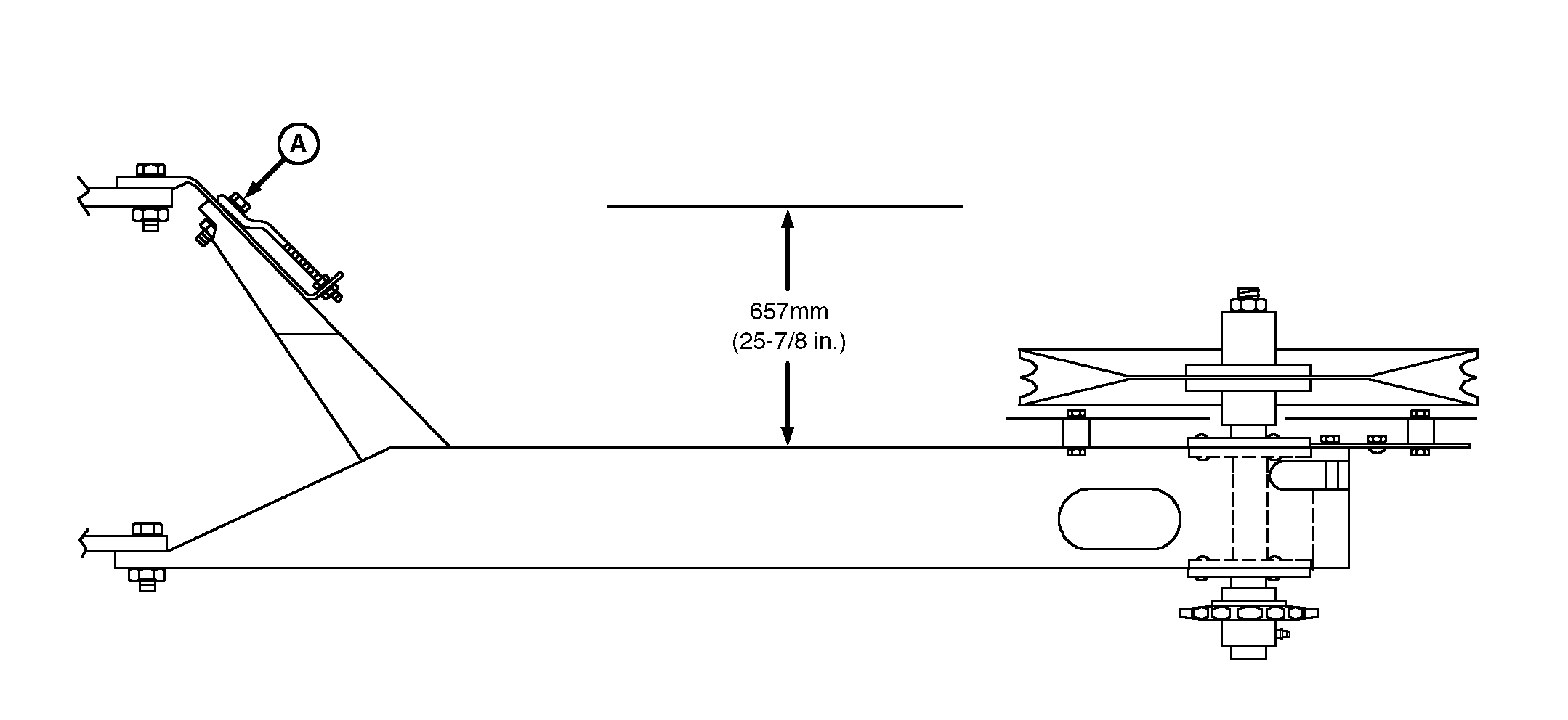
Loosen nuts (A) shown in top view.

Loosen nuts (C) and adjust two bolts (B) until top of arm (D) is 657 mm (25-7/8 in.) from side sheet. Tighten nuts (C)

Check for 657 mm (25-7/8 in.) dimension from bottom of arm (E) to side sheet. Adjust with nuts (F).

Adjust bolt out (toward sheave) or in (away from sheave) to move arm to equal spacing. This adjustment is a twisting action. Tighten nuts (A).

OUO1035,000030B -19-20SEP00-2/2