Unplugging Cylinder with Breaker Bar

causym CAUTION: Before applying breaker bar, disengage separator, shut off engine, remove key and set parking brake. After clearing cylinder, remove breaker bar before restarting engine and engaging separator.

If cylinder becomes choked, open concave and run separator to clean cylinder.

causym CAUTION: Raise feeder house, lower safety stop, shut off engine, remove key, and set parking brake.

If cylinder remains choked, shut off engine. Leave concave fully opened to remove all straw and other material from front of concave through cylinder (top) front door or bottom cleanout door.

OUO6035,000006E -19-09NOV00-1/2


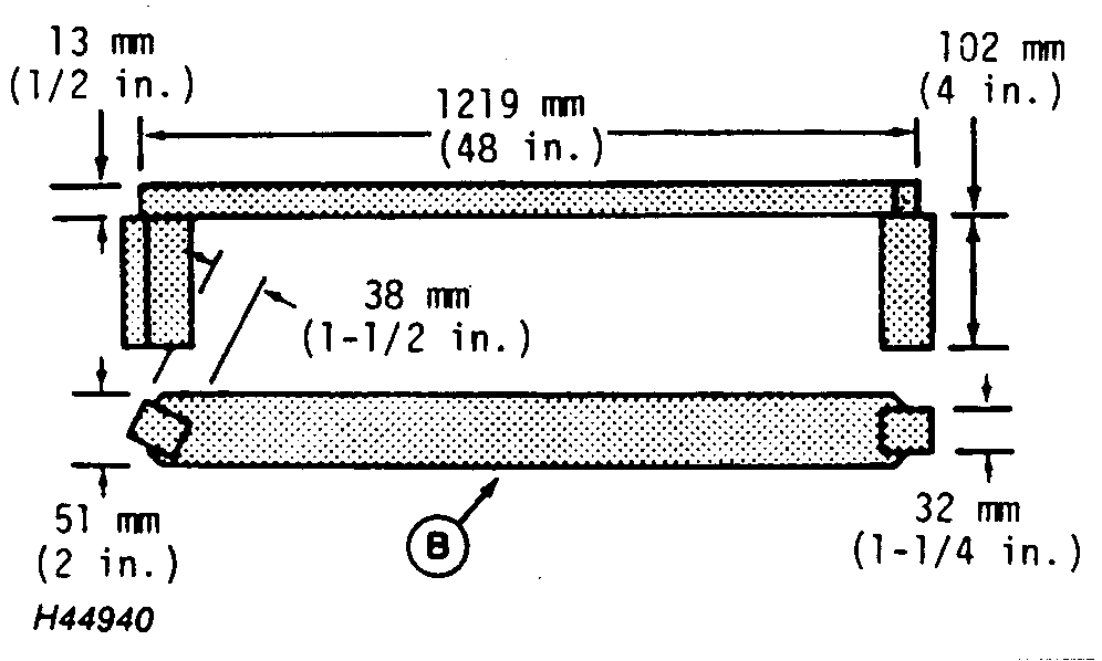
NOTE: The breaker bar is for a dual range cylinder; it is not provided with the combine. The breaker bar can be made out of steel. Dimensions for making the bar are provided. If combine is equipped with single range cylinder drive, use a crowbar or breaker bar to unplug the cylinder.

Remove cap screw (A) and slide shield out.

Insert breaker bar (B) and rock the cylinder back and forth until it is clear.

Slide shield back into position and secure with cap screw.

Adjust concave to original position after cylinder has been cleared.


A-Cap Screw
B-Breaker Bar

H59576
H44940

Dual Range Cylinder Breaker Bar

OUO6035,000006E -19-09NOV00-2/2