Adjusting Straw Walker Plugging Switch

causym CAUTION: Straw walkers are sharp. Lay a piece of cardboard or old carpet on walkers before beginning work.

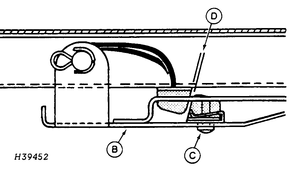
If this switch does not turn on light (A) and the buzzer when plugging occurs, clean off the walkers, check switch arm (B) for free movement and clean off if necessary. If the switch still does not work, adjust as follows:

Push switch arm (B) up.

Loosen two screws (C), set a 2 mm (5/64 in.) (0.080 in.) gap (D) and then tighten screws. A nickel could be used to check this gap.

If the switch still does not work, see your John Deere dealer.


A-Light
B-Switch Am
C-Screws
D-2 mm (5.64 in.) Gap

H67163
H39452

OUO6075,000160F -19-10APR01-1/1