Drive Wheel Bolt Torque

IMPORTANT: Wheel bolts must be clean and free of lube before installing. Torque value is for clean, dry bolt. Lubricating reduces friction and overloads the bolts.

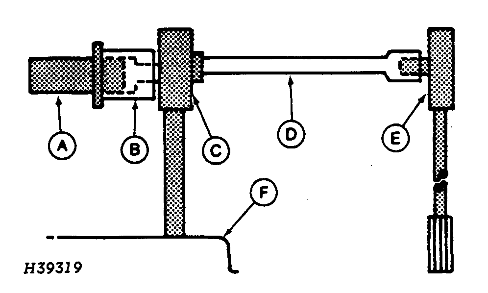
1. Each time a drive wheel is removed, torque wheel bolts to specification without using a torque multiplier. Tighten bolts in a criss/cross pattern.

Specification

Wheel Bolts -Torque 200 N·m + 1/4 turn (150 lb-ft + 1/4 turn)

2. Use a 4 to 1 torque multiplier and turn bolt head 1/4 turn (ratchet or torque wrench will make a full turn). Pull multiplier handle against inside of wheel when tightening.

NOTE: If the combine is equipped with 100 mm (4 in.) wheel spacers, turn each bolt head 1/2 turn (ratchet or torque wrench will make two full turns.

H39319


A-Wheel Bolt
B-Socket, 30 mm (3/4 In. Drive)
C-4 to 1 Multiplier (1000 lb-ft capacity) (1/2 In. Input Drive, 3/4 In. Output Drive)
D-Long Extension, 1/2 In. Drive x 18 In.
E-Torque Wrench
F-Wheel

AG,OUO1035,1616 -19-24JAN00-1/1