Replace and Adjust Fixed Speed Feeder House Belt

H72276


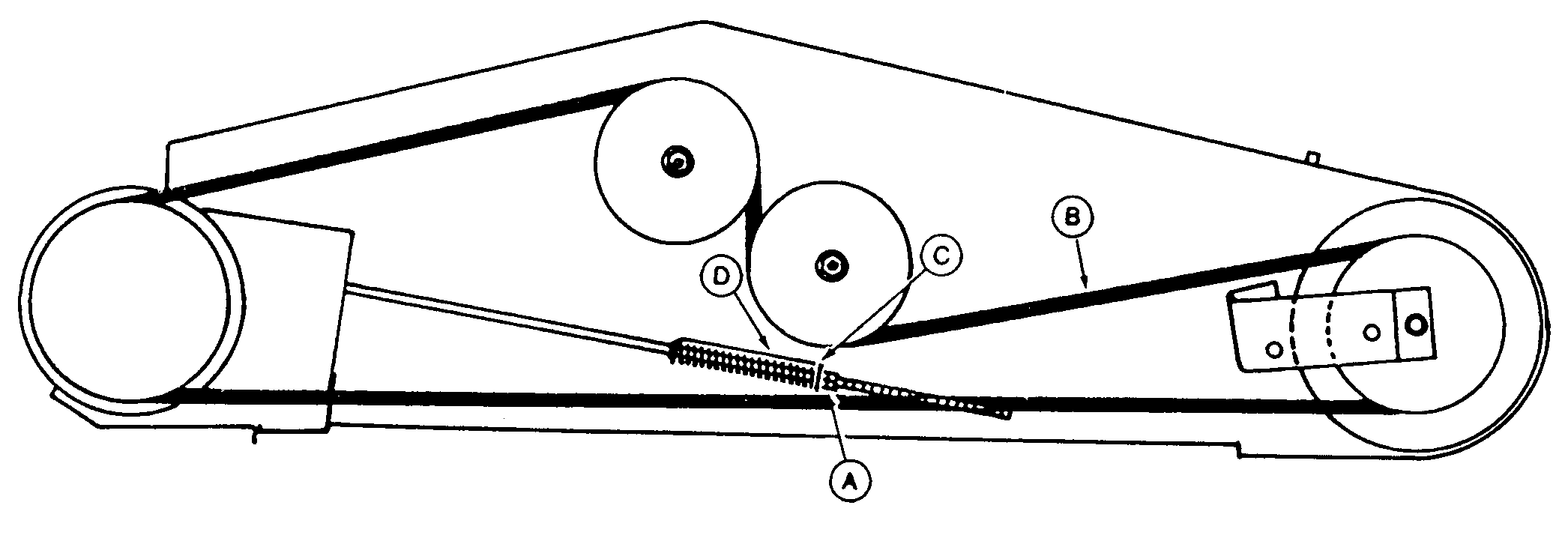
A-Nuts


B-Belt


C-Washer


D-Gauge

1. Remove shields.

2. Loosen nuts (A) to release tension on idlers.

3. Remove belt (B).

4. Install new belt.

5. Tighten nuts until washer (C) aligns with end of gauge (D).

6. Install shields.

OUO6075,0002184 -19-14JUN02-1/1