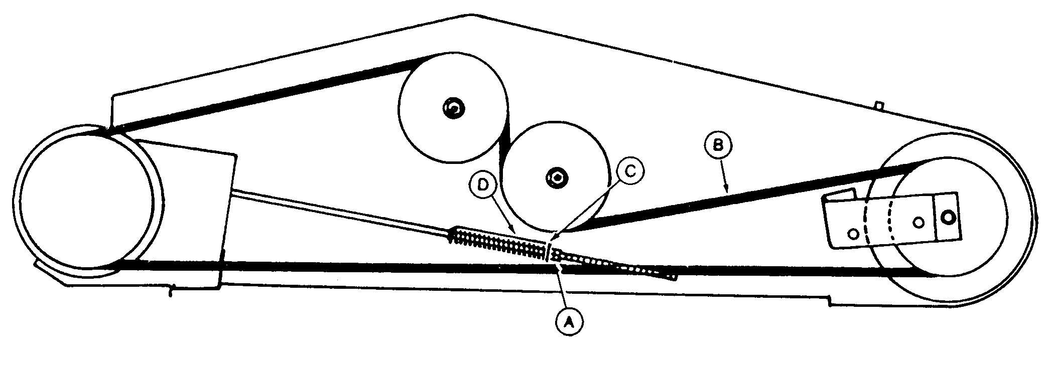
Feeder House Fixed Speed Belt-Replace and Adjust Belt

H72276


A-Nuts


B-Belt


C-Washer


D-Gauge

causym CAUTION: Raise feeder house, lower safety stop, shut off engine, set parking brake and remove key.

1. (Not Illustrated) Remove shields.

2. Loosen nuts (A) to release tension on idlers.

3. Remove belt (B).

4. Install new belt.

5. Tighten nuts until washer (C) aligns with end of gauge (D).

6. Install shields.

OUO6075,0002BBB -19-25APR03-1/1