Swing Cylinder-Adjusting

1. Swing unloading auger in storage position and keep pivoting cradle pinned (A).

2. Measure distance (B) between back face of cradle support bracket (C) and tubular structure of grain tank frame to specification.

Specification

Back Face of Cradle Support Bracket to Tank Structure -Distance 111 mm (4.37 in.)

NOTE: Make sure to square lower edge of cradle support bracket with grain tank frame.

3. If gap is incorrect, loosen but do not remove cap screws (D) and adjust to proper specification and tighten cap screws.

H76212


A-Pin
B-Measured Distance
C-Cradle Support Bracket
D-Cap Screws

OUO6075,0002BCD -19-28APR03-1/3


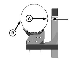
4. Measure from back edge (A) of unloading auger (B) to tubular structure of tank frame. Distance should be set to specification.

Specification

Back Edge of Unloading Auger to Tank Structure -Distance 57 mm (2.24 in.)


A-Back Edge
B-Unloading Auger

H75712

OUO6075,0002BCD -19-28APR03-2/3


5. If gap is incorrect adjust cylinder rod end (A). Loosen jam nut (B) and set screws (C). Screw cylinder rod in or out to obtain correct gap.

6. Tighten jam nut and set screw.


A-Cylinder Rod
B-Jam Nut
C-Set Screw

H66021

OUO6075,0002BCD -19-28APR03-3/3