Drive Wheel Bolt Torque

IMPORTANT: Wheel bolts must be clean and free of lube before installing. Torque value is for clean, dry bolt. Lubricating reduces friction and overloads the bolts.

1. Each time a drive wheel is repositioned or replaced, torque wheel bolts to specification without using a torque multiplier. Tighten bolts in a criss/cross pattern.

Specification

Drive Wheel Bolts -Torque 200 N·m + 1/4 turn (150 lb-ft) + 1/4 turn

2. Use a 4 to 1 torque multiplier and turn bolt head 1/4 turn (ratchet or torque wrench will make a full turn). Pull multiplier handle against inside of wheel when tightening.

NOTE: If the combine is equipped with 100 mm (4 in.) wheel spacers, turn each bolt head 1/2 turn (ratchet or torque wrench will make two full turns).

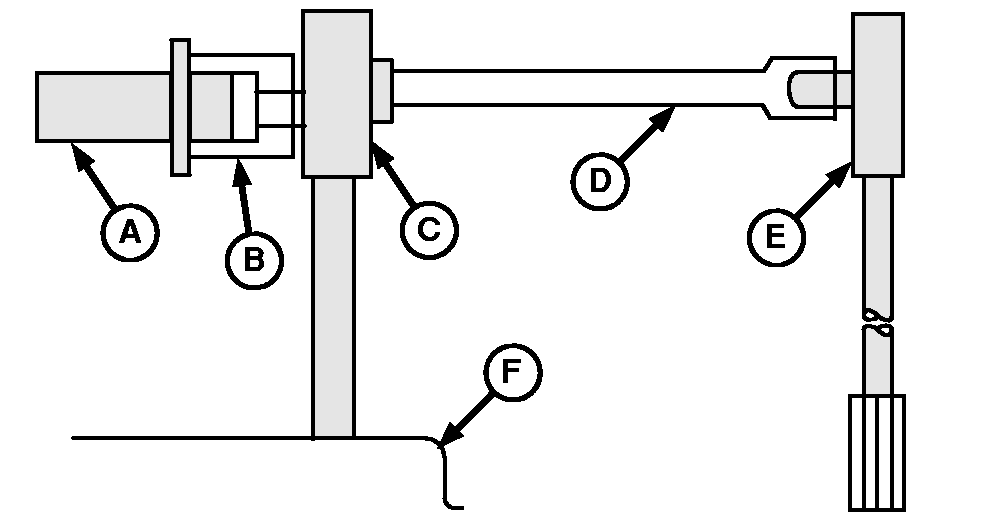
H72242


A-Wheel Bolt
B-30 mm Socket (3/4 in. Drive)
C-4 to 1 Multiplier (1000 lb-ft capacity) (1/2 in. Input Drive, 3/4 in. Output Drive)
D-3/4 in. Drive x 18 in. Long Extension
E-Torque Wrench
F-Wheel

OUO6075,000372E -19-11MAY04-1/1