Front Drive Wheel Offset

causym CAUTION: Avoid serious injury or death resulting from final drive failure and loss of drive wheel during transport or field operation. Do not exceed maximum wheel offset.

IMPORTANT: Use only John Deere supplied wheels, tires and spacers. Use of non-John Deere components not meeting John Deere specification will void John Deere warranty.

Dual wheels are not available for use on 9560i STS and 9880i STS machines. Machine damage can occur if dual wheels are used.

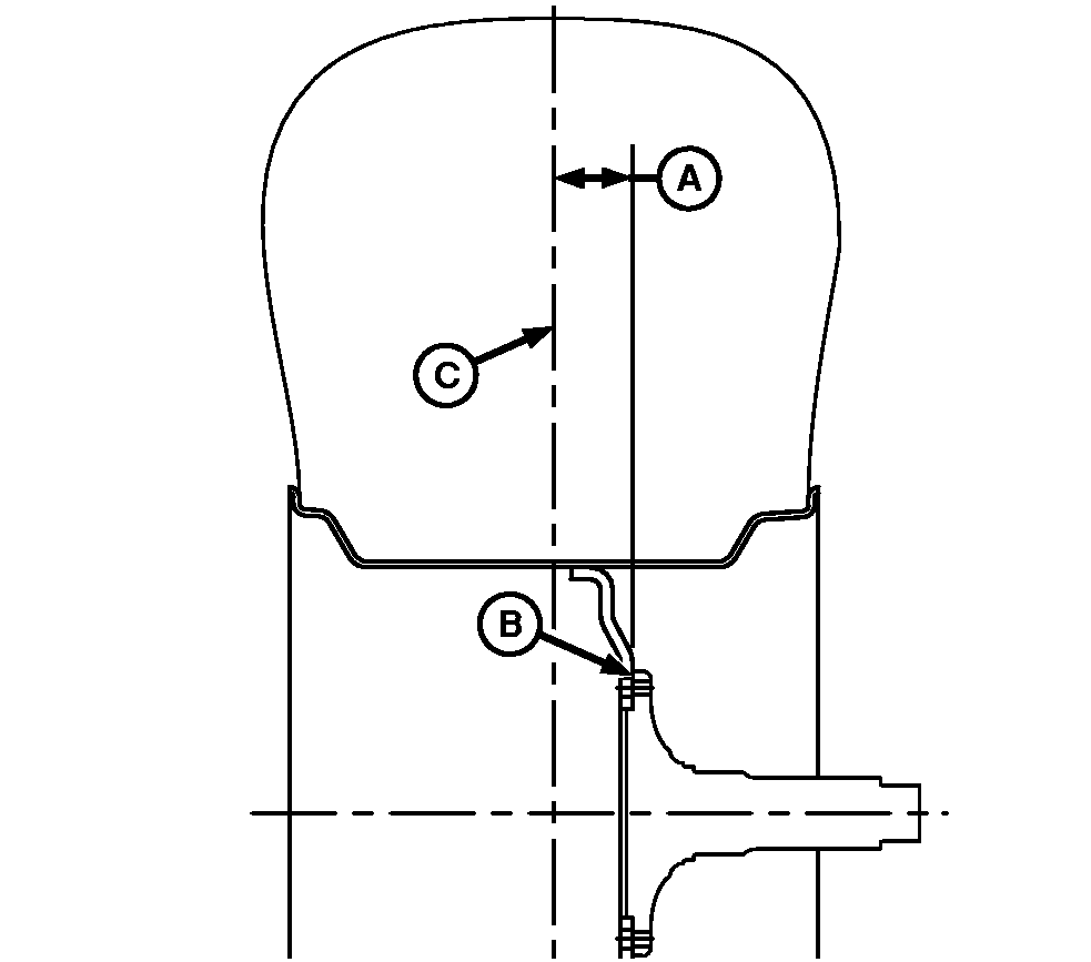
Wheel offset distance severely affects life of final drive parts. When installing drive wheels, ensure that offset dimension (A) measured from spindle surface (B) to centerline (C) is within specification.

Maximum Wheel Offset - Specification

Single Wheel -Distance 114.3 mm (4-1/2 in.)

H65047

Single Wheel


A-Dimension
B-Spindle Surface
C-Tire Centerline

OUO6075,00000FC -19-01SEP05-1/1