Transporting Combine on a Trailer

causym CAUTION: Avoid collisions with other roadway users. Before transporting on a public roadway check and follow local regulations regarding the use of lights, flags, over-width signs, pilot vehicles and other requirements for wide loads.

1. Empty grain tank and swing unloading auger to storage position. Use power folding auger switch to fold unloading auger rearward to transport position.

H81567

OUO6075,00040AA -19-24OCT05-1/13


2. Empty grain tank and reduce overall height of machine by closing grain tank covers (A).


A-Grain Tank Covers

H81655

OUO6075,00040AA -19-24OCT05-2/13


NOTE: After transporting machine, adjust rear axle spacing to previous width.

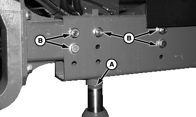
3. Do not raise machine at any other location than those with jack pocket (A).

Remove cap screws (B) from rear axle and cap screws (C) from tie rod. Adjust rear axle to narrowest position. Install and tighten hardware to specification. Repeat on opposite side.

Specification

Axle Cap Screws (B) -Torque 620 N·m (460 lb-ft)
Tie Rod Cap Screws (C) -Torque 130 N·m (95 lb-ft)

4. Drive combine on trailer and place multifunction control handle in neutral position.

5. Shut OFF engine, set parking brake and remove key.

6. Fold radio antenna down.


A-Jack Pocket
B-Cap Screws (5 used)
C-Cap Screws

H70555
H70554

OUO6075,00040AA -19-24OCT05-3/13


7. Lower and latch engine access doors (A) and lower handrail (B).

8. Tape muffler cap (C) closed to prevent damage to turbocharger.


A-Engine Access Doors
B-Handrail
C-Muffler Cap

H83951

OUO6075,00040AA -19-24OCT05-4/13


causym CAUTION: Possible injury or death to you or others can occur from falling. Use a ladder or equivalent with an appropriate load rating to access location (A) when installing unloading auger retaining pin (B). Do not attempt to access location from engine platform.

9. Retrieve pin (B) and spring pin (C) from combine tool box.

10. Install hardware as shown to retain unloading auger.


A-Location
B-Pin
C-Spring Pin

TS249
H84584
H75149

OUO6075,00040AA -19-24OCT05-5/13


11. Remove quick-lock pins (A) to open lower radiator door (B).


A-Quick-Lock Pins
B-Lower Radiator Door

H82388

OUO6075,00040AA -19-24OCT05-6/13


12. Remove and retain cap screws (A) from engine air scoop.

13. Remove engine air scoop from machine and close lower radiator door. Retain lower radiator door with previously removed quick-lock pins.


A-Cap Screws (4 Used)

H82965

OUO6075,00040AA -19-24OCT05-7/13


14. Remove hardware (A) and remove cable (B) from storage position.


A-Hardware
B-Cable

H83639

OUO6075,00040AA -19-24OCT05-8/13


15. Verify cable (A) is installed on inside of handrail (B).


A-Cable
B-Handrail

H83638

OUO6075,00040AA -19-24OCT05-9/13


16. Install cable (A) and retain with spring pin (B).


A-Cable
B-Spring Pin

H83640

OUO6075,00040AA -19-24OCT05-10/13


17. Wire down ladder extension and platform (A).


A-Ladder Extension and Platform

H61818

OUO6075,00040AA -19-24OCT05-11/13


18. Make sure that pin (A) is installed through locking plate (B) and retained with spring pin at front corner of right-hand gull wing door and door latch (C) is fully engaged.

19. Wire down door at latch (C).


A-Pin
B-Locking Plate
C-Door Latch

H81657
H81847

OUO6075,00040AA -19-24OCT05-12/13


20. Make sure pin (A) is installed through locking plate (B) and retained with spring pin at front and rear corners of left-hand gull wing doors and door latch (C) is fully engaged.

21. Wire down door at latches (C).

22. Swing rear warning lights rearward.

IMPORTANT: Fasten combine to trailer with chains.

23. Fasten combine to trailer with chains (see Combine Tie Down Location Decal located on the cab ladder for tie down information).


A-Pin
B-Locking Plate
C-Door Latches

H81656
H81846

OUO6075,00040AA -19-24OCT05-13/13