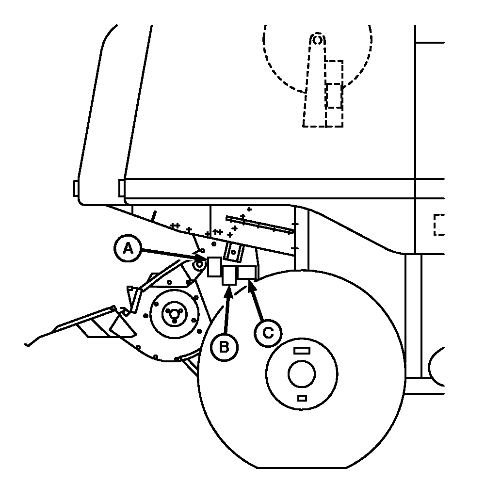
Right-Hand Rear View Decals

H82908
SSH149096

Decal A (Chopper and Spreader)

SSH210615

Decal B (Spreader Only)

SSH210563

Decal C (Chopper Only)

OUO6075,0003E4C -19-02MAR05-1/1