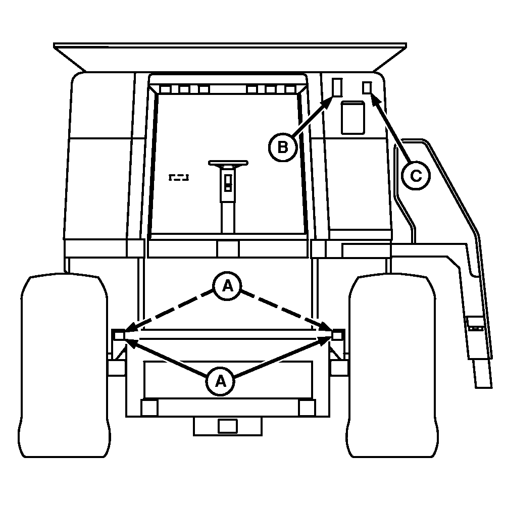
Front View Decals

H82902
SSH151607

Decal A Contour Master Only (4 Places)

SSH209454

Decal B

SSH209452

Decal C (2 Places)

OUO6075,0003E46 -19-02MAR05-1/1