Single Point Latching-Adjusting

NOTE: CONTOUR MASTER Feeder House: Adjustments should only be made to cable at multi-coupler handle.

Level Land Feeder House: Adjustments should only be made to cable at multi-coupler handle, unless cable is not centered at lower end (latch pin location). See Level Land Feeder House Lower End Cable-Adjusting.

1. Open left-hand feeder house shield (A).

2. Loosen cable jam nuts (B).

IMPORTANT: Verify handle is against stop on multi-coupler. Failure to verify handle is against the stop will result in inaccurate pin dimensions and could result in the header falling off while harvesting or transporting.

3. Rest multi-coupler handle against stop.


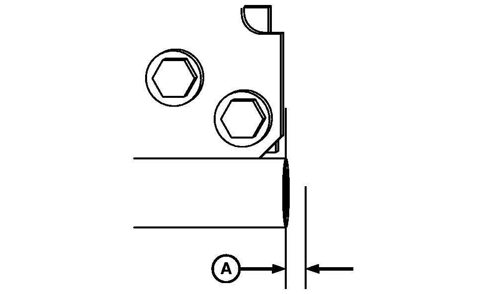
A-Shield
B-Jam Nuts

H78649
H78650

JK22594,0000094 -19-27JUL06-1/4


NOTE: Moving cable "up" in bracket pulls pin farther in.

Moving cable "down" in bracket pushes pin farther out.

4. Adjust cable in bracket as needed for proper pin adjustment:

  • Left-hand latching pin should be flush to +/- 2 mm (A).


A-Dimension

H79344

Left-Hand Latching Pin

JK22594,0000094 -19-27JUL06-2/4


5. Hold bottom jam nut (B) and tighten top jam nut (A).


A-Top Jam Nut
B-Bottom Jam Nut

H81289

JK22594,0000094 -19-27JUL06-3/4


IMPORTANT: Failure to verify pins are set to specified dimensions and could result in the header falling off while harvesting or transporting.

6. Fully lower multi-coupler handle (A) and verify pins (B) (both sides) are set to specification. Readjust if not set to specification.

Specification

Feeder House Pins -Distance 45 - 52 mm (1-3/4 in. - 2 in.)


A-Multi-coupler Handle
B-Pins

H81287
H81288

JK22594,0000094 -19-27JUL06-4/4