Single Point Latching-Adjusting

NOTE: CONTOUR MASTER Feeder House: Adjustments should only be made to cable at multi-coupler handle.

Level Land Feeder House: Adjustments should only be made to cable at multi-coupler handle, unless cable is not centered at lower end (latch pin location). See Level Land Feeder House Lower End Cable-Adjusting.

1. Open left-hand feeder house shield (A).

IMPORTANT: Verify handle is against stop on multi-coupler. Failure to verify handle is against the stop will result in inaccurate pin dimensions and could result in the header falling off while harvesting or transporting.

2. Loosen cable jam nuts (B).

3. Rest multi-coupler handle against stop.


A-Shield
B-Jam Nuts

H78649
H78650

JK22594,0000064 -19-24JUL06-1/4


NOTE: Moving cable "up" in bracket pulls pins farther in.

Moving cable "down" in bracket pushes pins farther out.

4. Adjust cable in bracket as needed for proper pin adjustment:

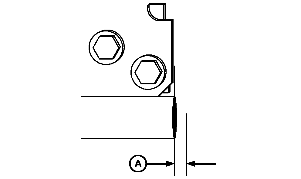
  • Left-hand latching pin should be flush to +/- 2 mm (A).


A-Dimension

H79344

Left-Hand Latching Pin

JK22594,0000064 -19-24JUL06-2/4


5. Hold bottom jam nut (B) and tighten top jam nut (A).


A-Top Jam Nut
B-Bottom Jam Nut

H81289

JK22594,0000064 -19-24JUL06-3/4


IMPORTANT: Failure to verify pins are set to specified dimensions and could result in the header falling off while harvesting or transporting.

6. Fully lower multi-coupler handle (A) and verify pins (B) (both sides) are set to specification. Readjust if not set to specification.

Specification

Feeder House Pins -Distance 45 - 52 mm (1-3/4 in. - 2 in.)


A-Multi-Coupler Handle
B-Pins

H81287
H81288

JK22594,0000064 -19-24JUL06-4/4