Front Drive Wheel Offset

causym CAUTION: Avoid serious injury or death resulting from final drive failure and loss of drive wheel during transport or field operation. Do not exceed maximum wheel offset.

IMPORTANT: Use only John Deere supplied wheels, tires and spacers. Use of non-John Deere components not meeting specification will void the warranty.

Do not use clamp-on style duals. They do not meet John Deere specification.

Do not operate with rear wheels offset out unless your machine is equipped with 28L-26 rear wheel option for non-powered rear axles. 28L-26 wheel option must be offset out due to clearance issues.

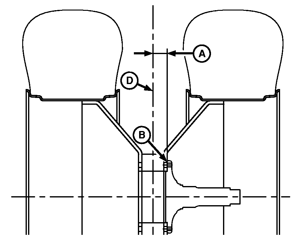
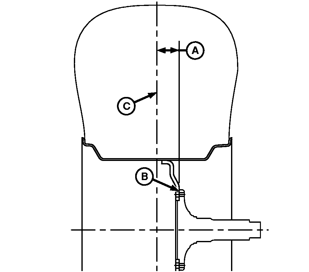
Wheel offset distance severely affects life of final drive parts. When installing drive wheels, ensure that offset dimension (A) measured from spindle surface (B) to centerline (C or D) is within specification.

Maximum Wheel Offset - Specification

Single Wheel -Distance 114.3 mm (4-1/2 in.)
Dual Wheels -Distance 50.8 mm (2 in.)


A-Dimension
B-Spindle Surface
C-Tire Centerline
D-Centerline of Duals

H65047

Single Wheel

H65048

Dual Wheels

OUO6075,0000829 -19-15MAR07-1/1