Drive Wheel and Dual Wheel Bolt Torque

IMPORTANT: Bolts must be clean and free of lube before installing. Torque value is for clean, dry bolt. Lubricating reduces friction and overloads bolts.

When drive wheels are repositioned or replaced, torque wheel bolts to specification and in a criss/cross pattern without using a torque multiplier.

Specification

Wheel Bolts -Torque 200 N·m + 1/4 turn (150 lb-ft + 1/4 turn)

NOTE: If equipped with 100 mm (4 in.) wheel spacers, turn bolt head 1/2 turn (ratchet/torque wrench will make two full turns).

Use torque multiplier and turn bolt head 1/4 turn (ratchet/torque wrench will make a full turn).

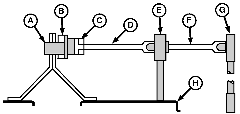
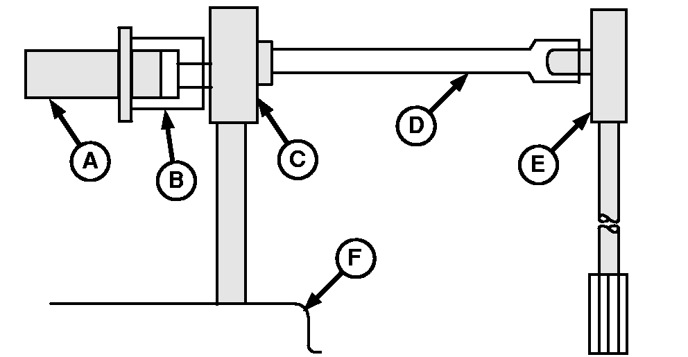
H72242


A-Wheel Bolt
B-30 mm Socket
C-4-to-1 Torque Multiplier
D-Extension
E-Torque Wrench
F-Wheel

OUO6075,0000D4A -19-05DEC07-1/2


When dual wheels are repositioned or replaced, torque wheel bolts to specification and in a criss/cross pattern without using a torque multiplier.

Specification

Wheel Bolts -Torque 200 N·m + 1/4 turn (150 lb-ft + 1/4 turn)

Use torque multiplier and turn bolt head 1/4 turn (ratchet/torque wrench will make a full turn).


A-Wheel Bolt
B-Bolt Spacer (If Equipped)
C-30 mm Socket
D-Extension
E-4-to-1 Torque Multiplier
F-Extension
G-Torque Wrench
H-Outside Dual Wheel (If Equipped)

H72243
H48028

Torque Sequence

OUO6075,0000D4A -19-05DEC07-2/2