Enganche de punto único - Ajuste

NOTA: Alimentador de mies CONTOUR MASTER: Los ajustes sólo deberán realizarse en el cable de la palanca de acoplador múltiple.

Alimentador a nivel de suelo: Los ajustes sólo deberán realizarse en el cable en la palanca del acoplador múltiple, salvo que el cable no se encuentre centrado en el extremo inferior (ubicación del pasador de enganche). Ver "Cable del extremo inferior del alimentador a nivel de suelo-Ajuste".

1. Abra la protección lateral izquierda (A) del alimentador.

2. Afloje las contratuercas (B) del cable.

IMPORTANTE: Verifique que la palanca esté contra el tope del acoplador múltiple. Si no se verifica que la palanca esté contra el tope, se producirán medidas de pasador inexactas y esto podría causar la caída del cabezal en el momento de la cosecha o el transporte.

3. Apoye la palanca del acoplador múltiple contra el tope.


A-Protección
B-Contratuercas

H78649
H78650

JK22594,0000094 -63-27JUL06-1/4


NOTA: Al mover el cable "hacia arriba" en el soporte se empuja el pasador más hacia el interior.

Al mover el cable "hacia abajo" en el soporte se empuja el pasador más hacia el exterior.

4. Ajuste el cable en el soporte según sea necesario para un ajuste adecuado del pasador:

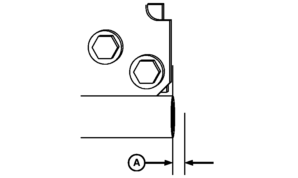
  • El pasador de enganche izquierdo debe estar alineado a +/- 2 mm (A).


A-Dimensión

H79344

Pasador de enganche izquierdo

JK22594,0000094 -63-27JUL06-2/4


5. Sujete la contratuerca inferior (B) y apriete la contratuerca superior (A).


A-Contratuerca superior
B-Contratuerca inferior

H81289

JK22594,0000094 -63-27JUL06-3/4


IMPORTANTE: Si no se verifica que los pasadores estén fijados según las dimensiones especificadas, el cabezal se caerá en el momento de la cosecha o transporte.

6. Descienda completamente la manija del acoplador múltiple (A) y compruebe que los pasadores (B) (de ambos lados) se fijen según especificación. Vuelva a ajustarlos si no se ajustan a las especificaciones.

Valor especificado

Pasadores del alimentador de mies -Distancia 45 - 52 mm (1-3/4 in. - 2 in.)


A-Palanca del acoplador múltiple
B-Pasadores

H81287
H81288

JK22594,0000094 -63-27JUL06-4/4