Drive Wheel Bolt Torque (Single Wheel Configuration)

H118390-UN-18MAY16

H96863-UN-10JUN10
Torque Sequence
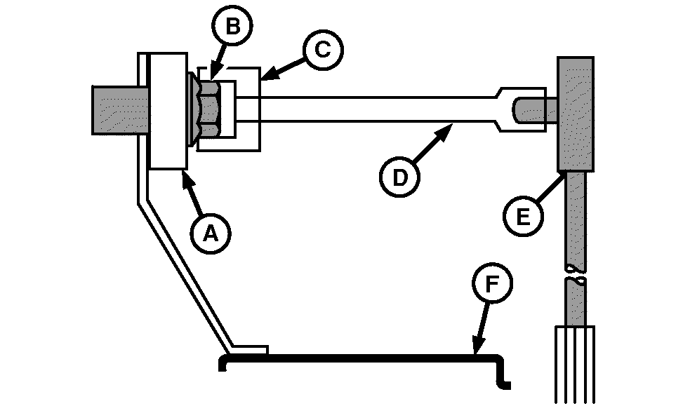
A - Spacer
B - Wheel Bolt
C - 32 mm Socket
D - Extension
E - Torque Wrench
F - Wheel
Each time drive wheels are repositioned or replaced, torque
wheel bolts to specification and in a criss/cross pattern.
| | |
|
Wheel Bolts | Torque | 710 N·m (524 lb·ft) |
After the first hour of operation and again after every 10 hours
of operation, torque wheel bolts to specification until 50 hours of
operation is completed. Torque wheel bolts every 100 hours thereafter.
|
|
OUO6075,00042E1-19-20160602
|
|