Drive Wheel Bolt Torque (Dual Wheel Configuration)

H118391-UN-18MAY16
Inner Dual Wheel

H118392-UN-18MAY16
Outer Dual Wheel

H96863-UN-10JUN10
Torque Sequence
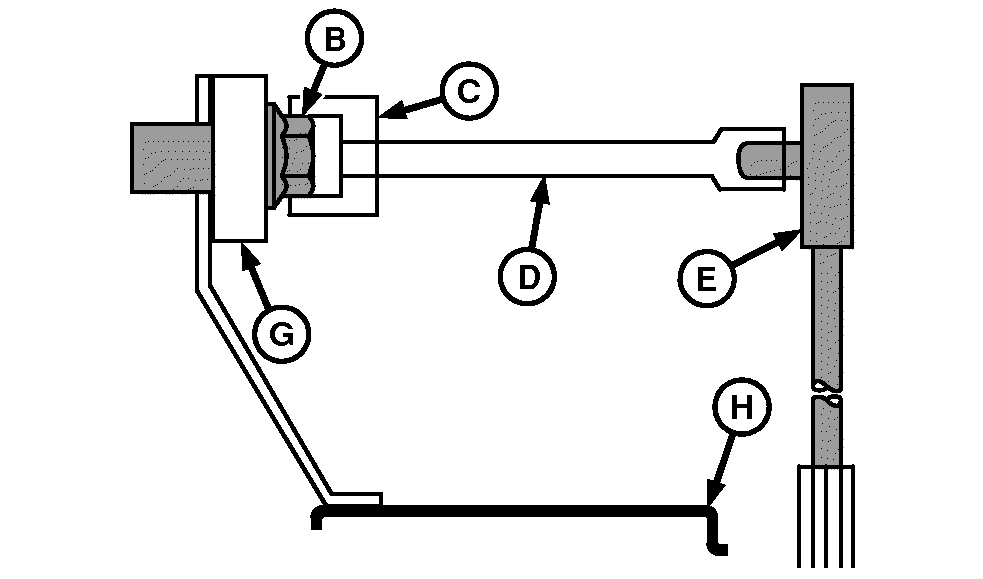
A - Dual Wheel Spacer
B - Wheel Bolt
C - 32 mm Socket
D - Extension
E - Torque Wrench
F - Inner Dual Wheel
G - Spacer
H - Outer Dual Wheel
Each time inner or outer dual wheels are repositioned or
replaced, torque wheel bolts to specification and in a criss/cross
pattern.
| | |
|
Wheel Bolts | Torque | 710 N·m (524 lb·ft) |
After the first hour of operation and again after every 10 hours
of operation, torque wheel bolts to specification until 50 hours of
operation is completed. Torque wheel bolts every 100 hours thereafter.
|
|
OUO6075,00042E2-19-20160602
|
|