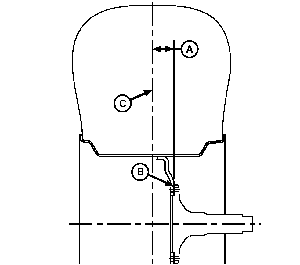
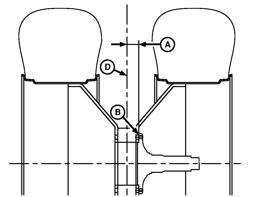
Front Drive Wheel Offset

H65047-UN-30OCT00
Single Wheel

H65048-UN-30OCT00
Dual Wheels
A - Dimension
B - Spindle Surface
C - Tire Centerline
D - Centerline of Duals
Avoid serious injury or death resulting from final drive
failure and loss of drive wheel during transport or field operation.
Do not exceed maximum wheel offset.
Use only John Deere supplied wheels, tires, and spacers.
Use of non-John Deere components not meeting specification voids the
warranty. Do not use clamp-on style duals. They do not
meet John Deere specification.
Wheel offset distance severely affects life of final drive parts.
When installing drive wheels, ensure that offset dimension (A) measured
from spindle surface (B) to centerline (C or D) is within specification.
| | |
| Maximum Wheel Offset |
|
Single Wheel | Distance | 114.3 mm (4-1/2 in.) |
|
Dual Wheels | Distance | 50.8 mm (2 in.) |
|
|
SS43267,0000558-19-20150318
|
|