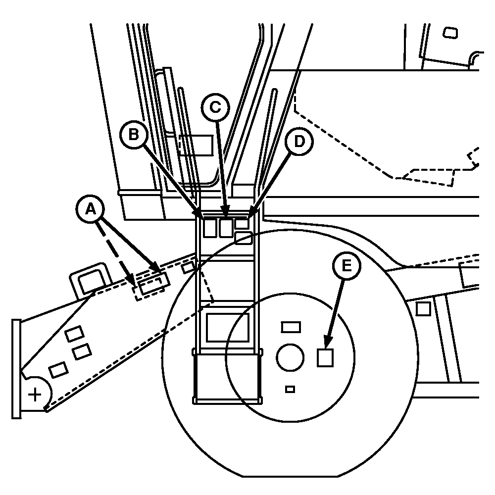
Feeder House/Cab Ladder Decals

H82903
SSH149063

Decal A (2 Places)

SSH149064

Decal B

SSH170654

Decal C

SSE82510

Decal D

SSH158975

Decal E (Dual Wheel Only)

OUO6075,0003E47 -19-02MAR05-1/1