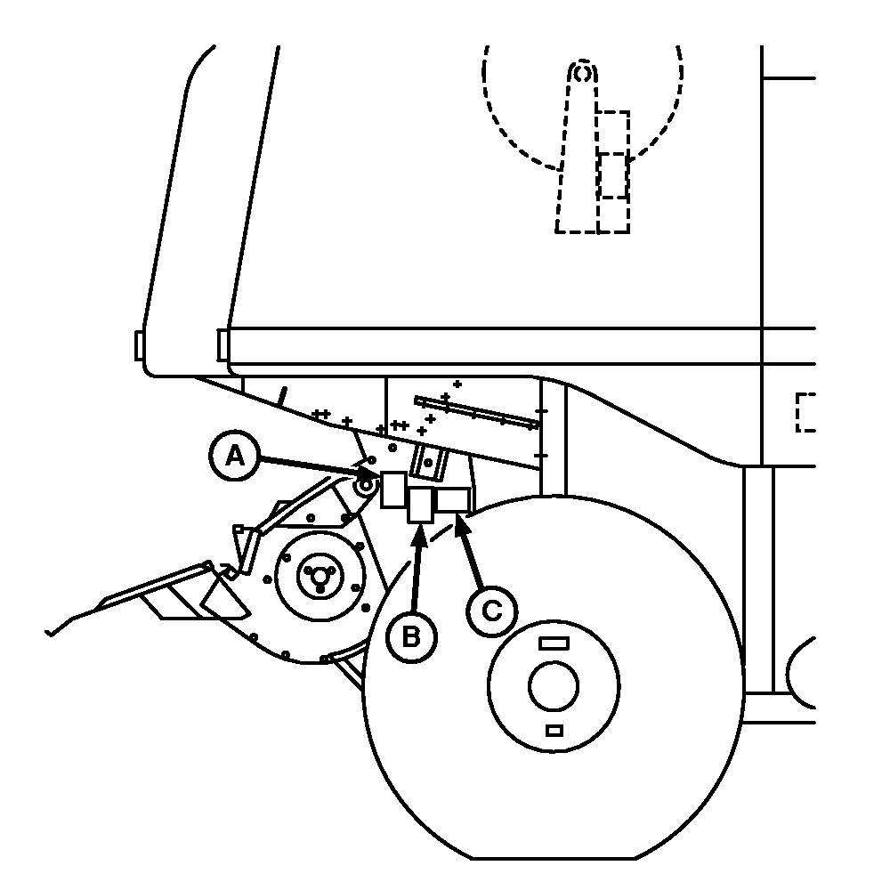
Right-Hand Rear View Decals

SSH210563

Decal C (Chopper Only)

H82908
SSH149096

Decal A (Chopper and Spreader)

SSH210615

Decal B (Spreader Only)

OUO6075,0003E4C -19-21OCT08-1/1