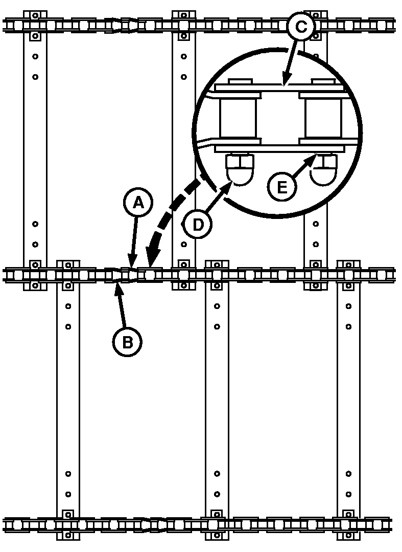
Feeder House Conveyor Chain Links—RemovingNOTE: When replacing chain links always check sprockets for wear.  H87543-UN-17APR07
A - Offset Link B - Offset Link C - Sidebar D - Cap Nut E - Gap, 1—2 mm (3/64 in.—5/64 in.) Remove offset links (A) for initial chain adjustment.Remove offset links (B) for second adjustment. When adjustment is used up from second adjustment, chain is worn out and should be replaced. | Item | Measurement | Specification | | “U” Slat M10 Hardware | Torque | 73 N·m (54 lb-ft) | | Chain Link M8 Cap Nuts | Torque | 25 N·m (18 lb-ft) |
IMPORTANT: When installing connector links, cap nuts must be oriented away from drum rings. When chain link cap nuts (D) are torqued to specification, gap (E) should exist between connector link sidebar (C) and cap nut. | OUO6075,00008A9-19-20080327 |
|