Drive Wheel and Dual Wheel Bolt TorqueIMPORTANT: Bolts must be clean and free of lube before installing. Torque value is for clean, dry bolt. Lubricating reduces friction and overloads bolts.  H72242-UN-12JUN02
A - Wheel Bolt B - 30 mm Socket C - 4-to-1 Torque Multiplier D - Extension E - Torque Wrench F - Wheel When drive wheels are repositioned or replaced, torque wheel bolts to specification and in a criss/cross pattern without using a torque multiplier.| Item | Measurement | Specification | | Wheel Bolts | Torque | 200 N•m + 1/4 turn (150 lb-ft + 1/4 turn) |
NOTE: If equipped with 100 mm (4 in.) wheel spacers, turn bolt head 1/2 turn (ratchet/torque wrench will make two full turns). Use torque multiplier and turn bolt head 1/4 turn (ratchet/torque wrench will make a full turn).  H72243-UN-16MAY02
 H48028-UN-28AUG96
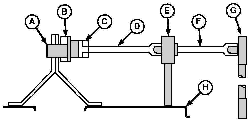
Torque Sequence A - Wheel Bolt B - Bolt Spacer (If Equipped) C - 30 mm Socket D - Extension E - 4-to-1 Torque Multiplier F - Extension G - Torque Wrench H - Outside Dual Wheel (If Equipped) When dual wheels are repositioned or replaced, torque wheel bolts to specification and in a criss/cross pattern without using a torque multiplier.| Item | Measurement | Specification | | Wheel Bolts | Torque | 200 N•m + 1/4 turn (150 lb-ft + 1/4 turn) |
Use torque multiplier and turn bolt head 1/4 turn (ratchet/torque wrench will make a full turn). | OUO6075,0000D4A-19-20071205 |
|