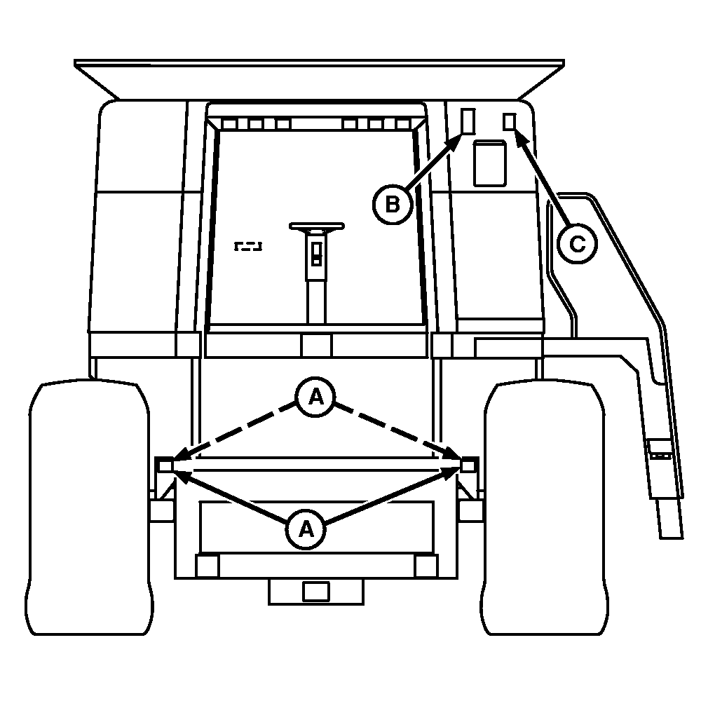
Front View Decals

H82902
H82902-UN-08APR05

SSH151607
SSH151607-19-06APR05

Decal A Contour Master Only (4 Places)

SSH209454
SSH209454-19-06APR05

Decal B

SSH209452
SSH209452-19-19APR05

Decal C (2 Places)


OUO6075,0003E46-19-20050302