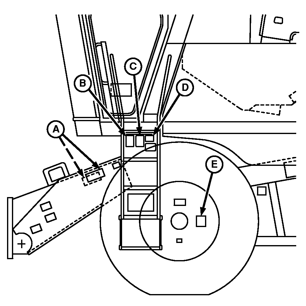
Feeder House/Cab Ladder Decals

H82903
H82903-UN-08APR05

SSH149063
SSH149063-19-08APR08

Decal A (2 Places)

SSH149064
SSH149064-19-06APR05

Decal B

SSH170654
SSH170654-19-06APR05

Decal C

SSE82510
SSE82510-19-25JUL05

Decal D

SSH158975
SSH158975-19-06APR05

Decal E (Dual Wheel Only)


OUO6075,0003E47-19-20050302