Right-Hand Rear View Decals

SSH210563
SSH210563-19-06APR05

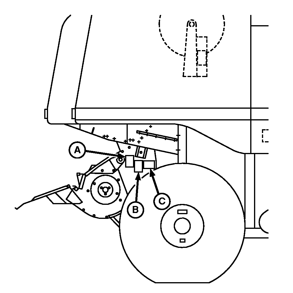
Decal C (Chopper Only)

H82908
H82908-UN-08APR05

SSH149096
SSH149096-19-06APR05

Decal A (Chopper and Spreader)

SSH210615
SSH210615-19-06APR05

Decal B (Spreader Only)


OUO6075,0003E4C-19-20081021