Drive Wheel Bolt Torque (Single Wheel Configuration) H96868-UN-11JUN10
 H96863-UN-10JUN10
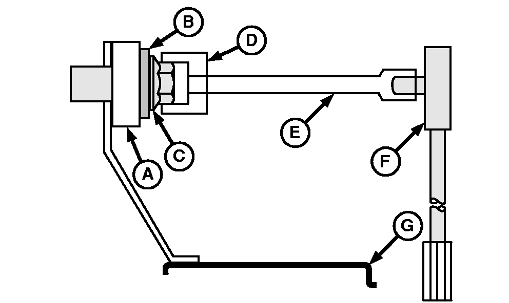
Torque Sequence A - Spacer B - Washer C - Wheel Bolt D - 32 mm Socket E - Extension F - Torque Wrench G - Wheel When drive wheels are repositioned or replaced, torque wheel bolts to specification and in a criss/cross pattern.| Item | Measurement | Specification | | Wheel Bolts | Torque (Lubricated) | 610 N·m (450 lb.-ft.) |
| OUO6075,00007D8-19-20100611 |
|