Drive Wheel Bolt Torque (Dual Wheel Configuration) H96841-UN-11JUN10
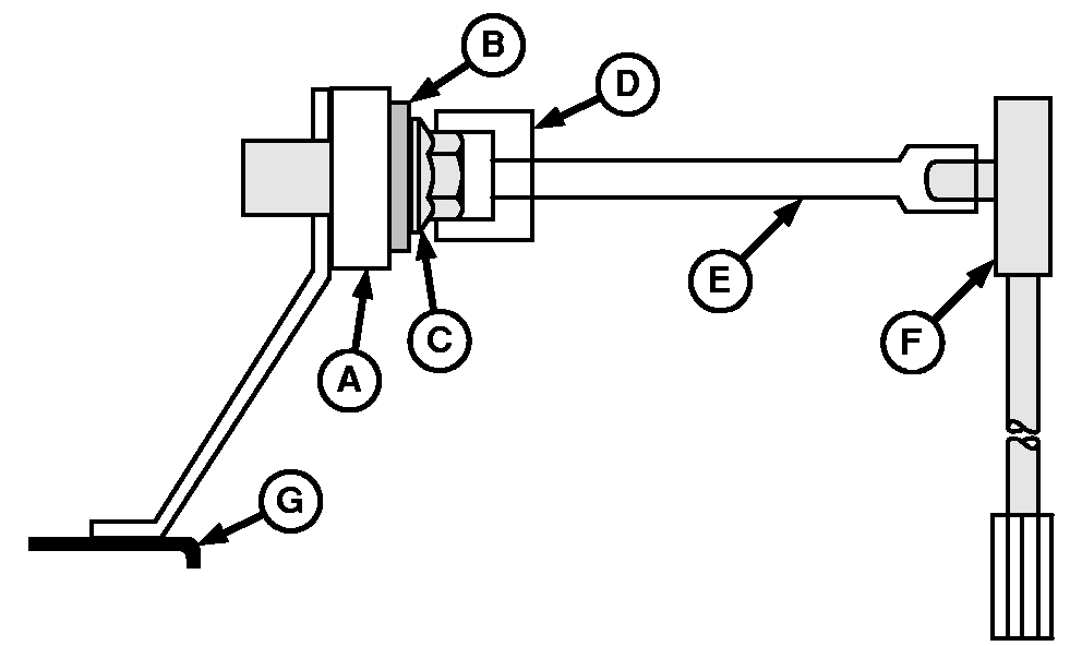
Inner Dual Wheel  H96842-UN-11JUN10
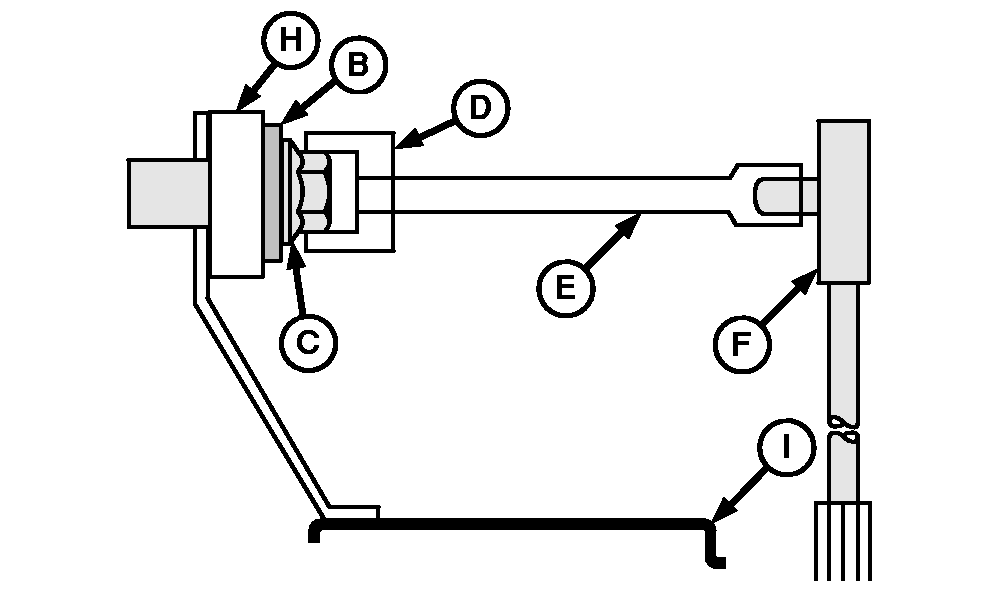
Outer Dual Wheel  H96863-UN-10JUN10
Torque Sequence A - Dual Wheel Spacer B - Washer C - Wheel Bolt D - 32 mm Socket E - Extension F - Torque Wrench G - Inner Dual Wheel H - Spacer I - Outer Dual Wheel When inner or outer dual wheels are repositioned or replaced, torque wheel bolts to specification and in a criss/cross pattern.| Item | Measurement | Specification | | Wheel Bolts | Torque (Lubricated) | 610 N·m (450 lb.-ft.) |
| OUO6075,00007D9-19-20100611 |
|