Feeder House Conveyor Chain Links—Removing
NOTE:

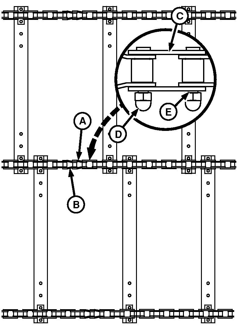
H87543-UN-17APR07
A - Offset Link
B - Offset Link
C - Sidebar
D - Cap Nut
E - Gap, 1—2 mm (3/64 in.—5/64 in.)
When replacing chain links always check sprockets for wear.
Remove offset links (A) for initial chain adjustment.
Remove offset links (B) for second adjustment. When adjustment
is used up from second adjustment, chain is worn out and must be replaced.
| Item | Measurement | Specification |
|
”U” Slat M10 Hardware | Torque | 73 N·m (54 lb-ft) |
|
Chain Link M8 Cap Nuts | Torque | 25 N·m (18 lb-ft) |
IMPORTANT: When installing connector links, cap nuts must be
oriented away from drum rings. When chain link cap nuts
(D) are torqued to specification, gap (E) should exist between connector
link sidebar (C) and cap nut.
|
|
OUO6075,000067D-19-20100202
|
|